版块导航
正在加载中...
客户端APP下载
论文辅导
调剂小程序
登录
注册
帖子
帖子
用户
本版
应《网络安全法》要求,自2017年10月1日起,未进行实名认证将不得使用互联网跟帖服务。为保障您的帐号能够正常使用,请尽快对帐号进行手机号验证,感谢您的理解与支持!
24小时热门版块排行榜
>
论坛更新日志
(2639)
>
虫友互识
(585)
>
休闲灌水
(178)
>
导师招生
(72)
>
论文投稿
(58)
>
博后之家
(33)
>
文献求助
(25)
>
招聘信息布告栏
(24)
>
基金申请
(23)
>
考研
(21)
>
硕博家园
(20)
>
考博
(19)
>
找工作
(17)
>
论文道贺祈福
(15)
>
教师之家
(14)
>
公派出国
(13)
小木虫论坛-学术科研互动平台
»
材料区
»
微米和纳米
»
学术交流
»
蓝宝石(001)衬底上磁控溅射外延ZnO薄膜
5
1/1
返回列表
查看: 1307 | 回复: 4
只看楼主
@他人
存档
新回复提醒
(忽略)
收藏
在APP中查看
龙之魂thc
新虫
(初入文坛)
应助: 0
(幼儿园)
金币: 100.5
红花: 1
帖子: 13
在线: 20.5小时
虫号: 2860843
注册: 2013-12-10
专业: 半导体材料
[
求助
]
蓝宝石(001)衬底上磁控溅射外延ZnO薄膜
已有1人参与
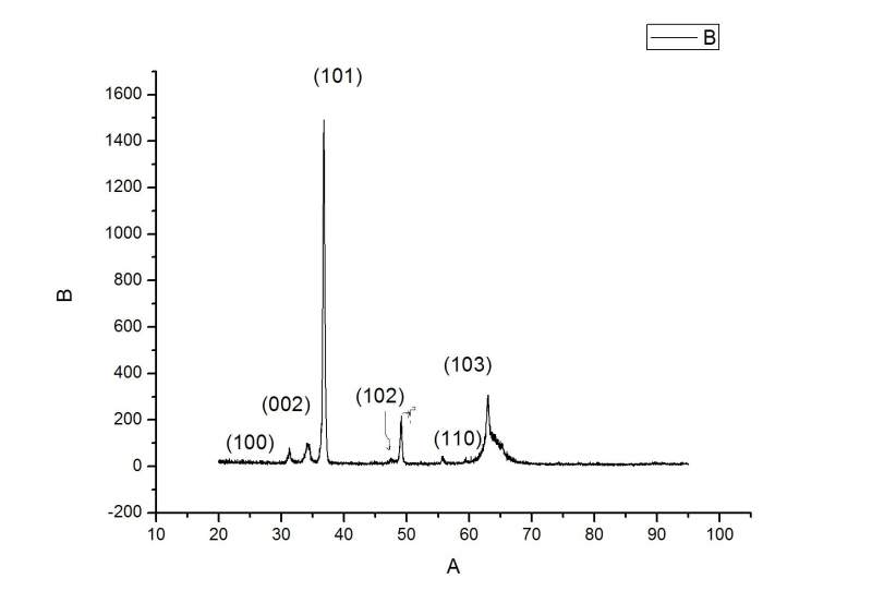
大神门,,,帮我看看为啥49°附近出现一个很强的衍射峰,找不到对应的晶向,已经有了(102)峰了在47°那,不要告诉我是这晶向呀。。。还有蓝宝石衬底为啥没有对应的峰值???
01.jpg
回复此楼
» 猜你喜欢
请问对标matlab的开源软件octave的网站https://octave.org为什么打不开?
已经有1人回复
求助两种BiOBr晶体的CIF文件(卡片号为JCPDS 09-0393与JCPDS 01-1004 )
已经有0人回复
金属材料论文润色/翻译怎么收费?
已经有82人回复
哈尔滨工程大学材化学院国家级青年人才-26年硕士招生
已经有0人回复
求助Fe-TCPP、Zn-TCPP的CIF文件,或者CCDC号
已经有0人回复
XPS/?λXPS
已经有0人回复
河北大学-26年秋季入学化学博士招生
已经有0人回复
» 本主题相关价值贴推荐,对您同样有帮助:
磁控溅射ZnO薄膜电阻太大
已经有19人回复
磁控溅射能做出金属镁薄膜吗
已经有6人回复
磁控做非晶薄膜。
已经有3人回复
在硅衬底和二氧化硅衬底上如何做金(Au)薄膜
已经有11人回复
磁控溅射再玻璃衬底上制备薄膜为什么做XRD测试时候测不出相应的峰呢?
已经有32人回复
请教同质外延及异质外延的不同
已经有7人回复
什么是外延法制备薄膜?不是外延法是什么方法??
已经有6人回复
EDS能谱测试ZnO,原子比怎么不是1:1呢?
已经有10人回复
急!关于薄膜的光学透过率图谱的分析
已经有33人回复
请教异质外延生长晶体薄膜的晶向与衬底材料晶向的关系~【回答有帮助的送红花】
已经有39人回复
如何解释有机薄膜与溅射其上的金属薄膜的附着原理?
已经有8人回复
薄膜太阳能电池能够用金属材料作为基片呢
已经有14人回复
镀银设备及方法求助
已经有15人回复
【求助】在晶体表面外延生长的ZnO薄膜晶格参数
已经有6人回复
【交流】磁控溅射中阳极罩与靶材之间的距离选择
已经有11人回复
【转帖】动力学蒙卡方法(KMC)模拟薄膜生长的基本知识
已经有11人回复
【求助】在石英衬底上镀一层SiO2薄膜,用什么方法使膜厚达到微米量级
已经有18人回复
1楼
2013-12-31 21:55:11
已阅
回复此楼
关注TA
给TA发消息
送TA红花
TA的回帖
porksong
银虫
(初入文坛)
应助: 2
(幼儿园)
金币: 152.9
散金: 20
红花: 3
帖子: 42
在线: 27小时
虫号: 2198273
注册: 2012-12-20
性别: GG
专业: 半导体材料
【答案】应助回帖
感谢参与,应助指数 +1
这样看不清楚,纵坐标取对数再看看
赞
一下
回复此楼
2楼
2014-01-01 16:53:50
已阅
回复此楼
关注TA
给TA发消息
送TA红花
TA的回帖
龙之魂thc
新虫
(初入文坛)
应助: 0
(幼儿园)
金币: 100.5
红花: 1
帖子: 13
在线: 20.5小时
虫号: 2860843
注册: 2013-12-10
专业: 半导体材料
引用回帖:
2楼
:
Originally posted by
porksong
at 2014-01-01 16:53:50
这样看不清楚,纵坐标取对数再看看
怎么取对数呀,不会呀
赞
一下
回复此楼
3楼
2014-01-03 08:53:47
已阅
回复此楼
关注TA
给TA发消息
送TA红花
TA的回帖
porksong
银虫
(初入文坛)
应助: 2
(幼儿园)
金币: 152.9
散金: 20
红花: 3
帖子: 42
在线: 27小时
虫号: 2198273
注册: 2012-12-20
性别: GG
专业: 半导体材料
引用回帖:
3楼
:
Originally posted by
龙之魂thc
at 2014-01-03 08:53:47
怎么取对数呀,不会呀...
点纵坐标
回复此楼
» 本帖已获得的红花(最新10朵)
龙之魂thc
4楼
2014-01-03 16:57:38
已阅
回复此楼
关注TA
给TA发消息
送TA红花
TA的回帖
龙之魂thc
新虫
(初入文坛)
应助: 0
(幼儿园)
金币: 100.5
红花: 1
帖子: 13
在线: 20.5小时
虫号: 2860843
注册: 2013-12-10
专业: 半导体材料
送红花一朵
引用回帖:
4楼
:
Originally posted by
porksong
at 2014-01-03 16:57:38
点纵坐标
用啥软件。不可能一个一个去吧
赞
一下
回复此楼
5楼
2014-01-03 21:09:41
已阅
回复此楼
关注TA
给TA发消息
送TA红花
TA的回帖
相关版块跳转
材料综合
材料工程
微米和纳米
晶体
金属
无机非金属
生物材料
功能材料
复合材料
我要订阅楼主
龙之魂thc
的主题更新
5
1/1
返回列表
如果回帖内容含有宣传信息,请如实选中。否则帐号将被全论坛禁言
普通表情
龙
兔
虎
猫
百度网盘
|
360云盘
|
千易网盘
|
华为网盘
在新窗口页面中打开自己喜欢的网盘网站,将文件上传后,然后将下载链接复制到帖子内容中就可以了。
最具人气热帖推荐
[查看全部]
作者
回/看
最后发表
[
基金申请
]
情人节自我反思:在爱情中有过遗憾吗?
+5
瞬息宇宙
2026-02-15
6/300
2026-02-18 12:51
by
月下雪林
[
找工作
]
售SCI一区文章,我:8 O5 51O 54,科目齐全,可+急
+3
i3cz6qj6l2
2026-02-17
3/150
2026-02-18 11:09
by
lqtl9djx19
[
考博
]
售SCI一区文章,我:8 O5 51O 54,科目齐全,可+急
+3
i3cz6qj6l2
2026-02-17
3/150
2026-02-18 10:54
by
lqtl9djx19
[
考研
]
售SCI一区文章,我:8 O5 51O 54,科目齐全,可+急
+3
i3cz6qj6l2
2026-02-17
3/150
2026-02-18 10:39
by
lqtl9djx19
[
考研
]
售SCI一区文章,我:8 O5 51O 54,科目齐全,可+急
+3
pnpwoqbg8f
2026-02-17
3/150
2026-02-18 08:53
by
lqtl9djx19
[
硕博家园
]
售SCI一区文章,我:8 O5 51O 54,科目齐全,可+急
+3
pnpwoqbg8f
2026-02-17
3/150
2026-02-18 08:38
by
lqtl9djx19
[
找工作
]
售SCI一区文章,我:8 O5 51O 54,科目齐全,可+急
+4
pnpwoqbg8f
2026-02-17
4/200
2026-02-18 07:55
by
lotyj5cz79
[
基金申请
]
售SCI一区文章,我:8 O5 51O 54,科目齐全,可+急
+3
pnpwoqbg8f
2026-02-16
4/200
2026-02-18 07:40
by
lotyj5cz79
[
考研
]
售SCI一区文章,我:8 O5 51O 54,科目齐全,可+急
+4
pnpwoqbg8f
2026-02-16
4/200
2026-02-18 07:38
by
lotyj5cz79
[
硕博家园
]
售SCI一区文章,我:8 O5 51O 54,科目齐全,可+急
+4
pnpwoqbg8f
2026-02-16
4/200
2026-02-18 07:23
by
lotyj5cz79
[
论文投稿
]
售SCI一区文章,我:8 O5 51O 54,科目齐全,可+急
+4
pnpwoqbg8f
2026-02-16
4/200
2026-02-18 07:08
by
lotyj5cz79
[
公派出国
]
售SCI一区文章,我:8 O5 51O 54,科目齐全,可+急
+3
pnpwoqbg8f
2026-02-16
3/150
2026-02-18 06:53
by
lotyj5cz79
[
论文投稿
]
售SCI一区文章,我:8 O5 51O 54,科目齐全,可+急
+3
pnpwoqbg8f
2026-02-17
3/150
2026-02-18 00:40
by
tk2gfblvuz
[
找工作
]
售SCI一区文章,我:8 O5 51O 54,科目齐全,可+急
+3
pnpwoqbg8f
2026-02-17
4/200
2026-02-18 00:23
by
tk2gfblvuz
[
公派出国
]
售SCI一区文章,我:8 O5 51O 54,科目齐全,可+急
+3
pnpwoqbg8f
2026-02-17
3/150
2026-02-17 23:40
by
tk2gfblvuz
[
基金申请
]
基金正文30页指的是报告正文还是整个申请书
+3
successhe
2026-02-16
4/200
2026-02-17 20:56
by
successhe
[
基金申请
]
今年春晚有几个节目很不错,点赞!
+5
瞬息宇宙
2026-02-16
6/300
2026-02-17 12:49
by
jymy19840415
[
微米和纳米
]
球磨粉体时遇到了大的问题,请指教!
10
+3
6sbiam
2026-02-12
15/750
2026-02-16 15:03
by
tgzxzqj
[
基金申请
]
过年走亲戚时感受到了所开私家车的鄙视链
+3
瞬息宇宙
2026-02-15
5/250
2026-02-16 14:23
by
aspect3000
[
硕博家园
]
江汉大学解明教授课题组招博士研究生/博士后
+3
cleverlyy
2026-02-12
3/150
2026-02-12 21:02
by
qsdf1
信息提示
关闭
请填处理意见
关闭
确定