版块导航
正在加载中...
客户端APP下载
论文辅导
调剂小程序
登录
注册
帖子
帖子
用户
本版
应《网络安全法》要求,自2017年10月1日起,未进行实名认证将不得使用互联网跟帖服务。为保障您的帐号能够正常使用,请尽快对帐号进行手机号验证,感谢您的理解与支持!
24小时热门版块排行榜
>
论坛更新日志
(595)
>
虫友互识
(40)
>
导师招生
(22)
>
硕博家园
(22)
>
找工作
(16)
>
考博
(15)
>
公派出国
(8)
>
论文道贺祈福
(6)
>
考研
(6)
>
精细化工
(4)
>
文献求助
(4)
>
休闲灌水
(4)
>
教师之家
(3)
>
基金申请
(2)
>
外文书籍求助
(2)
>
机械
(1)
小木虫论坛-学术科研互动平台
»
化学化工区
»
电化学
»
化学电源
»
化成曲线求助
1
1/1
返回列表
查看: 268 | 回复: 0
只看楼主
@他人
存档
新回复提醒
(忽略)
收藏
在APP中查看
3263670385
新虫
(初入文坛)
应助: 1
(幼儿园)
金币: 121.5
帖子: 18
在线: 23.6小时
虫号: 3841280
注册: 2015-04-29
专业: 电化学
[
求助
]
化成曲线求助
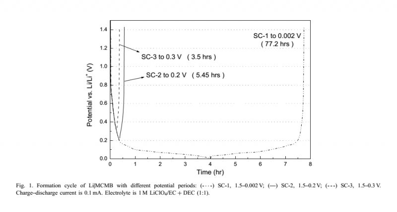
请看图片的文字和化成曲线,请问为什么化成前要小电压放电?
图一.png
图二.png
回复此楼
» 猜你喜欢
德国Karlsruhe Institute of Technology招收电化学储能及联合培养CSC博士等
已经有20人回复
德国Karlsruhe Institute of Technology招收电化学储能及联合培养CSC博士
已经有24人回复
物理化学论文润色/翻译怎么收费?
已经有139人回复
德国Karlsruhe Institute of Technology招收电化学储能及联合培养CSC博士
已经有1人回复
固态锂金属电池迁移数计算求助
已经有1人回复
荷兰奈梅亨大学赵文博与Galimberti课题组招收理论计算CSC博士 2000 欧元/月+房补
已经有0人回复
26储能博士申请自荐
已经有22人回复
上海交通大学--宁波东方理工大学电池方向博士招生
已经有10人回复
海南大学全国重点实验室杨金霖老师招收储能电池方向博士生(2026年3月报名,9月入学)
已经有1人回复
海南师范大学2026年博士研究生招收 (在职想提升学历人员可报考) 申请考核制+普通招考
已经有0人回复
申博求助
已经有0人回复
1楼
2015-05-18 18:20:23
已阅
回复此楼
关注TA
给TA发消息
送TA红花
TA的回帖
智能机器人
Robot
(super robot)
我们都爱小木虫
找到一些相关的精华帖子,希望有用哦~
磷酸铁锂-钛酸锂 扣式全电池 充放电曲线
已经有17人回复
请问各位图中的曲线方程是怎样获取的
已经有11人回复
请问 锂电池中预充化成的英文怎么说
已经有12人回复
平面曲线的一般方程是不是都能化成二次型?
已经有3人回复
请大神帮我用Origin将这些数据化成三维曲面图,谢谢!也请把所编的程序也给我,谢谢!
已经有8人回复
求助 压缩曲线分析
已经有4人回复
为什么有的电池充放电曲线有平台有的没有
已经有3人回复
磷酸铁锂化成后电压范围疑问。
已经有15人回复
怎样将两个参数方程化为一个普通方程。
已经有11人回复
求助original曲线拟合。
已经有6人回复
如何测试燃料电池的I-V曲线呢?
已经有9人回复
锂离子电池化成过程中电压在充、放电完成后的突变。
已经有13人回复
【求助】标准曲线范围
已经有3人回复
【求助】如何绘制微分容量电压曲线
已经有7人回复
【求助】cv曲线求助~~是否可逆等
已经有11人回复
【求助】关于磷酸铁锂电池的化成电压
已经有12人回复
【求助】求助:工作曲线怎么绘制?
已经有9人回复
点击这里搜索更多相关资源
科研从小木虫开始,人人为我,我为人人
相关版块跳转
有机交流
有机资源
高分子
无机/物化
分析
催化
工艺技术
化工设备
石油化工
精细化工
电化学
环境
SciFinder/Reaxys
我要订阅楼主
3263670385
的主题更新
1
1/1
返回列表
如果回帖内容含有宣传信息,请如实选中。否则帐号将被全论坛禁言
普通表情
龙
兔
虎
猫
百度网盘
|
360云盘
|
千易网盘
|
华为网盘
在新窗口页面中打开自己喜欢的网盘网站,将文件上传后,然后将下载链接复制到帖子内容中就可以了。
信息提示
关闭
请填处理意见
关闭
确定