版块导航
正在加载中...
客户端APP下载
论文辅导
调剂小程序
登录
注册
帖子
帖子
用户
本版
应《网络安全法》要求,自2017年10月1日起,未进行实名认证将不得使用互联网跟帖服务。为保障您的帐号能够正常使用,请尽快对帐号进行手机号验证,感谢您的理解与支持!
24小时热门版块排行榜
>
论坛更新日志
(2870)
>
导师招生
(250)
>
虫友互识
(232)
>
文献求助
(199)
>
休闲灌水
(100)
>
硕博家园
(80)
>
考研
(51)
>
论文投稿
(50)
>
考博
(43)
>
基金申请
(39)
>
招聘信息布告栏
(30)
>
博后之家
(28)
>
教师之家
(28)
>
无机非金属
(26)
>
绿色求助(高悬赏)
(22)
>
找工作
(21)
小木虫论坛-学术科研互动平台
»
化学化工区
»
电化学
»
电分析测试
»
求分析CV曲线---有关金属离子沉积
3
1/1
返回列表
查看: 229 | 回复: 2
只看楼主
@他人
存档
新回复提醒
(忽略)
收藏
在APP中查看
言昔流芳
铜虫
(小有名气)
应助: 0
(幼儿园)
金币: 103.5
帖子: 61
在线: 23.4小时
虫号: 2319531
注册: 2013-03-05
性别: GG
专业: 玻璃材料
[
求助
]
求分析CV曲线---有关金属离子沉积
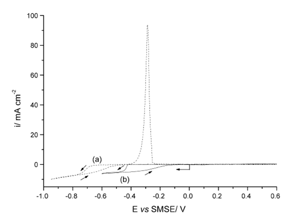
在文献中看到这样的CV曲线:想问一下他从0扫到-0.9V然后又正扫到0.6V,然后再回扫到0V,这么做的意义是什么?
图片1.png
图片2.png
回复此楼
» 猜你喜欢
德国Karlsruhe Institute of Technology招收电化学储能及联合培养CSC博士
已经有24人回复
德国Karlsruhe Institute of Technology招收电化学储能及联合培养CSC博士
已经有1人回复
分析化学论文润色/翻译怎么收费?
已经有133人回复
固态锂金属电池迁移数计算求助
已经有1人回复
荷兰奈梅亨大学赵文博与Galimberti课题组招收理论计算CSC博士 2000 欧元/月+房补
已经有0人回复
26储能博士申请自荐
已经有23人回复
上海交通大学--宁波东方理工大学电池方向博士招生
已经有10人回复
海南大学全国重点实验室杨金霖老师招收储能电池方向博士生(2026年3月报名,9月入学)
已经有1人回复
海南师范大学2026年博士研究生招收 (在职想提升学历人员可报考) 申请考核制+普通招考
已经有1人回复
申博求助
已经有0人回复
JACS投稿
已经有0人回复
» 本主题相关价值贴推荐,对您同样有帮助:
求大神指点:为什么cv曲线中扫出的峰不明显
已经有5人回复
锂离子电池负极CV曲线无法闭合
已经有11人回复
求解Pb电极在硫酸中的CV曲线
已经有11人回复
CV测试求助,CV曲线点特别乱是怎么回事
已经有11人回复
【求助】这样的CV曲线反映了什么过程?
已经有7人回复
CV曲线求帮分析下!
已经有6人回复
求助:CV曲线不平滑是什么原因
已经有11人回复
求助大家怎么使用origin8.0做CV曲线
已经有12人回复
电化学cv曲线分析
已经有12人回复
锂离子电池的CV曲线竟然成这样了。。。有木有高手给解释一下
已经有11人回复
菜鸟求助CV曲线分析
已经有10人回复
CV曲线 求分析
已经有3人回复
锂离子电池 CV曲线
已经有14人回复
希望高手帮忙分析扣式电池CV曲线图。
已经有7人回复
金属电沉积的极化曲线
已经有33人回复
跪求指点,超级电容器,CV曲线不对称
已经有13人回复
求大家帮忙分析下这个CV曲线吧
已经有10人回复
【求助】CV曲线怎么计算比电容呢?
已经有17人回复
【求助】请高手指教,有图求真相——Pt/C催化剂稳定性和CV曲线问题
已经有8人回复
【求助】cv曲线求助~~是否可逆等
已经有11人回复
【求助】CV曲线峰电流读取及处理
已经有4人回复
【求助】急问CV曲线用origin处理时不能平滑吗?
已经有15人回复
【求助】CV曲线中峰电流和扫描速度平方根之间的斜率数值代表了什么?
已经有15人回复
1楼
2015-04-12 20:57:28
已阅
回复此楼
关注TA
给TA发消息
送TA红花
TA的回帖
言昔流芳
铜虫
(小有名气)
应助: 0
(幼儿园)
金币: 103.5
帖子: 61
在线: 23.4小时
虫号: 2319531
注册: 2013-03-05
性别: GG
专业: 玻璃材料
图1:沉积液为0.6 M HClO4 + a: 5mM CuSO4;b: 5mM PdSO4
图1:沉积液为0.6 M HClO4 + 5mM CuSO4 + 5mM PdSO4
赞
一下
回复此楼
2楼
2015-04-12 20:58:30
已阅
回复此楼
关注TA
给TA发消息
送TA红花
TA的回帖
言昔流芳
铜虫
(小有名气)
应助: 0
(幼儿园)
金币: 103.5
帖子: 61
在线: 23.4小时
虫号: 2319531
注册: 2013-03-05
性别: GG
专业: 玻璃材料
急,求助
回复此楼
3楼
2015-04-13 08:33:35
已阅
回复此楼
关注TA
给TA发消息
送TA红花
TA的回帖
相关版块跳转
有机交流
有机资源
高分子
无机/物化
分析
催化
工艺技术
化工设备
石油化工
精细化工
电化学
环境
SciFinder/Reaxys
我要订阅楼主
言昔流芳
的主题更新
3
1/1
返回列表
如果回帖内容含有宣传信息,请如实选中。否则帐号将被全论坛禁言
普通表情
龙
兔
虎
猫
百度网盘
|
360云盘
|
千易网盘
|
华为网盘
在新窗口页面中打开自己喜欢的网盘网站,将文件上传后,然后将下载链接复制到帖子内容中就可以了。
信息提示
关闭
请填处理意见
关闭
确定