| ²é¿´: 1387 | »Ø¸´: 7 | ||
jiaoboboгæ (³õÈëÎÄ̳)
|
[ÇóÖú]
¹ØÓÚ³ý³¾Æ÷Éè¼ÆµÄһЩÎÊÌâ
|
|
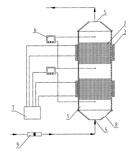
ÎÒ¸ÕÉÏÑо¿Éú£¬µ¼Ê¦¸øÁË¿ÎÌâÖ®ºóÓеã㣬ÏëÇë¸÷λ´óʦָµãһϣ¬ÎÒÓ¦¸ÃÔõôÈëÊÖ¡£¿ÎÌâÊÇ×ö³ý³¾Æ÷£¬É豸һÀàµÄ¶¼Òª×Ô¼ºÉè¼ÆºÍ¶¨×ö£¬Âé·³´ó¼Ò¸øµãÖ¸µ¼£¬ÏÂÃæ¸½Í¼ 23.png |
» ²ÂÄãϲ»¶
Ò»Ö¾Ô¸ÄϾ©º½¿Õº½Ìì´óѧ ²ÄÁÏÓ뻯¹¤329·ÖÇóµ÷¼Á
ÒѾÓÐ7È˻ظ´
Ò»Ö¾Ô¸C9µÄ»¯Ñ§¹¤³Ì£¨085602£© 340·Ö£¬¸Ð¾õУÄÚµ÷¼ÁÎÞÍû£¬Çóµ÷¼Á
ÒѾÓÐ12È˻ظ´
312Çóµ÷¼Á
ÒѾÓÐ4È˻ظ´
²ÄÁÏר˶322
ÒѾÓÐ9È˻ظ´
Çóµ÷¼Á
ÒѾÓÐ7È˻ظ´
085600²ÄÁÏÓ뻯¹¤301·ÖÇóµ÷¼ÁԺУ
ÒѾÓÐ8È˻ظ´
Ò»Ö¾Ô¸ ½ÄÏ´óѧ 085602 »¯¹¤×¨Ë¶ 338·ÖÇóµ÷¼Á
ÒѾÓÐ14È˻ظ´
070300»¯Ñ§Ñ§Ë¶311·ÖÇóµ÷¼Á
ÒѾÓÐ13È˻ظ´
²ÄÁϵ÷¼Á
ÒѾÓÐ9È˻ظ´
Ò»Ö¾Ô¸ºÓ±±¹¤Òµ´óѧ²ÄÁϹ¤³Ì£¬³õÊÔ344Çóר˶µ÷¼Á
ÒѾÓÐ4È˻ظ´
» ±¾Ö÷ÌâÏà¹Ø¼ÛÖµÌùÍÆ¼ö£¬¶ÔÄúͬÑùÓаïÖú:
¹ØÓÚÒýÎïÉè¼ÆµÄÎÊÌâ
ÒѾÓÐ11È˻ظ´
PBÉè¼ÆÖÐËùÉæ¼°µÄһЩСÎÊÌâ
ÒѾÓÐ8È˻ظ´
ÕôÁóËþÉè¼ÆÓöµ½µÄÎÊÌâ
ÒѾÓÐ7È˻ظ´
¹ØÓÚÖпÆÔº¿¼ÑÐ838»·¾³»¯Ñ§µÄʵÑéÉè¼ÆÎÊÌâ
ÒѾÓÐ10È˻ظ´
ʯÓÍ»¯¹¤É豸Éè¼ÆÑ¡ÓÃÊÖ²á-³ý³¾Æ÷£¨ËÑË÷ÎÞÖØ¸´£©
ÒѾÓÐ88È˻ظ´
ÒýÎïÉè¼ÆÖÐÓöµ½ÎÊÌâ¡£ÇóÖú¡£
ÒѾÓÐ5È˻ظ´
¹ØÓÚÉè¼ÆÁ÷Á¿µÄÎÊÌâ
ÒѾÓÐ4È˻ظ´
ÇóÖú£¬ÆÀÔÄÈ˹ØÓÚʵÑéÉè¼ÆµÄµÄÒ»¸öÎÊÌ⣬ΪºÎ²»ÓÃÕý½»ÊµÑé
ÒѾÓÐ4È˻ظ´
LTOµç³ØÉè¼ÆµÄһЩСÎÊÌ⣡~ÅθßÊÖ½â´ð£¡
ÒѾÓÐ3È˻ظ´
¡¶³ý³¾¼¼ÊõÎÊ´ð¡·
ÒѾÓÐ385È˻ظ´
´óÆøÎÛȾ´¦Àí¸ßÊÖ½ø£¡
ÒѾÓÐ6È˻ظ´
ÓйØÓÚʵÑéÉè¼ÆÊ±µÄÎÊÌâ
ÒѾÓÐ14È˻ظ´
¹ØÓÚÕý½»Éè¼Æ±íµÄÎÊÌâ
ÒѾÓÐ7È˻ظ´
¹ØÓÚÉè¼Æ£Ç£Æ£ÐµÄÒýÎïÉè¼ÆÎÊÌ⡣ר¼ÒÇëÈëÄÚ
ÒѾÓÐ3È˻ظ´
ÍÑÁò¼¼Êõ£¬»¶ÓÀ´ÌÖÂÛ~
ÒѾÓÐ9È˻ظ´
¡¾ÇóÖú/½»Á÷¡¿¹ØÓÚÆô¶¯×ÓȱʧµÄÒýÎïÉè¼ÆÎÊÌâ
ÒѾÓÐ4È˻ظ´
¹ØÓÚÏìÓ¦ÃæÊµÑéÉè¼ÆÖÐÖÐÐÄ×éºÏÉè¼Æ£¨CCD£©µÄ¼¸¸öÎÊÌâ
ÒѾÓÐ6È˻ظ´
die.pass.fly
Ìú¸Ëľ³æ (ÖªÃû×÷¼Ò)
- Ó¦Öú: 109 (¸ßÖÐÉú)
- ½ð±Ò: 5309.2
- É¢½ð: 122
- ºì»¨: 83
- ɳ·¢: 9
- Ìû×Ó: 5346
- ÔÚÏß: 182.7Сʱ
- ³æºÅ: 1672306
- ×¢²á: 2012-03-07
- ÐÔ±ð: GG
- רҵ: ͳ¼ÆÑ§

2Â¥2013-11-22 13:39:25
jiaobobo
гæ (³õÈëÎÄ̳)
- Ó¦Öú: 0 (Ó×¶ùÔ°)
- ½ð±Ò: 201.5
- É¢½ð: 5
- Ìû×Ó: 27
- ÔÚÏß: 13.8Сʱ
- ³æºÅ: 1998377
- ×¢²á: 2012-09-13
- רҵ: »·¾³»¯¹¤
3Â¥2013-11-22 15:22:27
die.pass.fly
Ìú¸Ëľ³æ (ÖªÃû×÷¼Ò)
- Ó¦Öú: 109 (¸ßÖÐÉú)
- ½ð±Ò: 5309.2
- É¢½ð: 122
- ºì»¨: 83
- ɳ·¢: 9
- Ìû×Ó: 5346
- ÔÚÏß: 182.7Сʱ
- ³æºÅ: 1672306
- ×¢²á: 2012-03-07
- ÐÔ±ð: GG
- רҵ: ͳ¼ÆÑ§

4Â¥2013-11-22 16:05:13
hamlat_yl
Ìú¸Ëľ³æ (ÕýʽдÊÖ)
- Ó¦Öú: 220 (´óѧÉú)
- ½ð±Ò: 5916.9
- É¢½ð: 161
- ºì»¨: 15
- Ìû×Ó: 684
- ÔÚÏß: 157.9Сʱ
- ³æºÅ: 537368
- ×¢²á: 2008-04-01
- ÐÔ±ð: GG
- רҵ: ºÏ³ÉÒ©Îﻯѧ
5Â¥2013-11-25 10:35:01
axl19770201
½ð³æ (СÓÐÃûÆø)
- CE-EPI: 1
- Ó¦Öú: 109 (¸ßÖÐÉú)
- ½ð±Ò: 952.2
- ºì»¨: 9
- Ìû×Ó: 270
- ÔÚÏß: 92.9Сʱ
- ³æºÅ: 2723437
- ×¢²á: 2013-10-14
- ÐÔ±ð: GG
- רҵ: »¯Ñ§·´Ó¦¹¤³Ì
¡¾´ð°¸¡¿Ó¦Öú»ØÌû
¡ï ¡ï
lvaudi: ½ð±Ò+2, ¸Ðл½»Á÷»ØÌû£¬³£À´»¯¹¤É豸°æ 2013-11-26 23:50:18
lvaudi: ½ð±Ò+2, ¸Ðл½»Á÷»ØÌû£¬³£À´»¯¹¤É豸°æ 2013-11-26 23:50:18
|
1¡¢Ê×ÏÈÈ·¶¨»»·çÁ¿£¬¸ù¾Ý»»·çÁ¿Ñ¡ÔñÄãµÄÒý·ç»ú£¨¶¯Á¦É豸£©ºÍÄãµÄËþ£» 2¡¢È·¶¨³¾°£Á£¶È£¬¸ù¾ÝÁ£¶ÈÑ¡ÔñÄãÐèÒªµÄ³ý³¾´üµÄÄ¿Êý£» 3¡¢È·¶¨²¶¼¯ÊýÁ¿£¬»òÕß˵ÄãµÄÄ¿±ê½à¾»¶È£¬¸ù¾ÝÒªÇóÈ·¶¨Ãæ»ý¡¢²ãÊýµÈ£» 4¡¢Ã÷È·ÄãµÄÆøÌåÐÔÖÊ£¬¸ù¾ÝÐÔÖÊÑ¡ÔñËþµÄ²ÄÖÊ£» 5¡¢¼ÆËãÄãµÄ¾·Ñ£¬¸ù¾ÝÄãµÄ×ʽðÑ¡ÔñÉú²ú³§¼Ò£¨¼´²É¹º·½Ê½£©£» 6¡¢¸ù¾ÝÀϰåµÄÆäËûϸ½ÚÒªÇó£¬È·¶¨ÄãµÄ¹¤×÷ϸ½Ú£¡ Ðֵܣ¬ÄãµÄͼ̫²Ú£¬ÎÒÒ²Ö»ÄܸøÄãÕâô¶à½¨ÒéÀ²£¡ ²»Ñ§µç×Ó£¬ËùÒÔµç¿Ø¡¢Á¬Ðø»¯Éú²ú¸ø²»ÁËÌ«¶àµÄ½¨Ò飡 Èç¹ûÓÐÐèÒª£¬¿ÉÒÔMÎÒ½»Á÷£¡ |
6Â¥2013-11-26 08:47:23
159159jl
ͳæ (СÓÐÃûÆø)
- Ó¦Öú: 1 (Ó×¶ùÔ°)
- ½ð±Ò: 403.8
- Ìû×Ó: 149
- ÔÚÏß: 50Сʱ
- ³æºÅ: 2794759
- ×¢²á: 2013-11-12
- ÐÔ±ð: GG
- רҵ: ¹«¹²¹ÜÀíÓ빫¹²Õþ²ß

7Â¥2013-11-26 16:26:41
jiaobobo
гæ (³õÈëÎÄ̳)
- Ó¦Öú: 0 (Ó×¶ùÔ°)
- ½ð±Ò: 201.5
- É¢½ð: 5
- Ìû×Ó: 27
- ÔÚÏß: 13.8Сʱ
- ³æºÅ: 1998377
- ×¢²á: 2012-09-13
- רҵ: »·¾³»¯¹¤
8Â¥2013-11-27 16:31:10














»Ø¸´´ËÂ¥
5