| 查看: 304 | 回复: 0 | ||
找资料什么的新虫 (小有名气)
|
[求助]
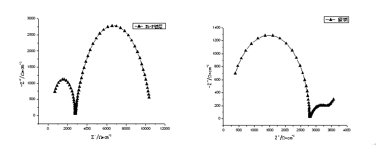
什么原因可能导致第一个容抗弧增大?
|
|
试样在某细菌溶液当中浸泡72h,测得N图和Bode图,已判断出2个时间常数,遂拟合,可是结果与相关文献相差甚远,基本认为失败了,可是想知道是什么原因导致的?是否大家有失败的经验可以分享,推断一下呢? HX%[UX$ZJZMFDXD%1Y4TWHN.png |
» 猜你喜欢
调剂信息
已经有0人回复
华南理工0703化学,总分336求调剂
已经有11人回复
物理化学论文润色/翻译怎么收费?
已经有129人回复
河北农大生物与医药专业招收调剂,名额充足
已经有0人回复
齐鲁工业大学 国家重点实验室-新能源、锂离子电池、材料、化学方向
已经有0人回复
一志愿前4位代码0703均可报名-河北大学分析化学专业招收调剂考生
已经有57人回复
★★爆★★0860生物与医药调剂考生看过来,河北大学化学与材料科学学院
已经有85人回复
杰青/长江团队招收调剂
已经有0人回复
中南林业科技大学罗勇锋教授团队2026年招收材料类调剂研究生
已经有0人回复
电子科技大学材料学院王翀教授拟招收工程博士一名(化学、材料方向)
已经有0人回复
湖南农业大学能源材料创新团队招收2026化学专业研究生(学硕)调剂
已经有2人回复

找到一些相关的精华帖子,希望有用哦~
帮忙看看我这两个阻抗谱有几个时间常数。。铝合金在NaCl溶液中的
已经有6人回复
EIS分析求助!
已经有4人回复
求助电化学阻抗谱图的解析
已经有6人回复
交流阻抗图谱分析
已经有23人回复
求助,阻抗谱图分析,低频区出现严重的阻抗实部收缩!
已经有16人回复
科研从小木虫开始,人人为我,我为人人














回复此楼
点击这里搜索更多相关资源