Znn3bq.jpeg
²é¿´: 629  |  »Ø¸´: 3

¡ó¡ô¨KÑ©¡ðoo

ľ³æ (³õÈëÎÄ̳)

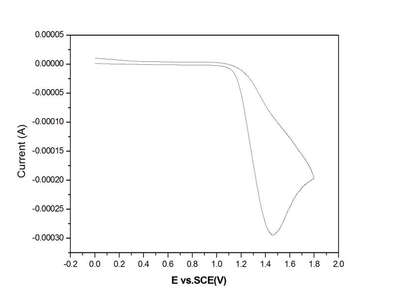
[ÇóÖú] Çë´óÉñ°ïæ·ÖÎöÒ»ÏÂÑ­»··ü°²ÇúÏß ÒÑÓÐ3È˲ÎÓë

×î½ü×öÁ˵绯ѧ²âÊÔ£¬µ«²â³öÀ´µÄcvÇúÏß¿´ÆðÀ´ºÜ¹Ö£¬±¾È˶Ե绯ѧ·½Ã治̫Á˽⣬»¹Çë´óÉñ°ïæ·ÖÎöÒ»ÏÂÕâÁ½¸öÇúÏßÀïÃæÓÐûÓÐÑõ»¯·å£¬²»Ê¤¸Ð¼¤¡£

Çë´óÉñ°ïæ·ÖÎöÒ»ÏÂÑ­»··ü°²ÇúÏß
Graph1.jpg


Çë´óÉñ°ïæ·ÖÎöÒ»ÏÂÑ­»··ü°²ÇúÏß-1
Graph2.jpg
»Ø¸´´ËÂ¥

» ²ÂÄãϲ»¶

» ±¾Ö÷ÌâÏà¹Ø¼ÛÖµÌùÍÆ¼ö£¬¶ÔÄúͬÑùÓаïÖú:

ÒÑÔÄ   »Ø¸´´ËÂ¥   ¹Ø×¢TA ¸øTA·¢ÏûÏ¢ ËÍTAºì»¨ TAµÄ»ØÌû

strugglejsp

ľ³æ (ÕýʽдÊÖ)

¡¾´ð°¸¡¿Ó¦Öú»ØÌû

¡ï ¡ï ¡ï ¡ï ¡ï
¸Ðл²ÎÓ룬ӦÖúÖ¸Êý +1
¡ó¡ô¨KÑ©¡ðoo: ½ð±Ò+5, ¡ïÓаïÖú 2015-04-02 16:02:38
ÄãµÄµçѹ´°¿Ú¿ÉÄܹý´óÁ˰ɣ¿
2Â¥2015-04-01 20:46:40
ÒÑÔÄ   »Ø¸´´ËÂ¥   ¹Ø×¢TA ¸øTA·¢ÏûÏ¢ ËÍTAºì»¨ TAµÄ»ØÌû

zhouxinÖÜöÎ

Í­³æ (³õÈëÎÄ̳)

¡¾´ð°¸¡¿Ó¦Öú»ØÌû

¡ï ¡ï ¡ï ¡ï ¡ï
¸Ðл²ÎÓ룬ӦÖúÖ¸Êý +1
¡ó¡ô¨KÑ©¡ðoo: ½ð±Ò+5, ¡ïÓаïÖú 2015-04-02 16:02:47
Õâ¸öûÓзå³öÀ´µÄ£¬Ó¦¸Ã²»ÄÜËãÊÇÓÐÏìÓ¦£¬ÄãÊÔÊ԰ѲÎÊý¸Ä±äһϿ´¿´£¡
3Â¥2015-04-02 09:35:58
ÒÑÔÄ   »Ø¸´´ËÂ¥   ¹Ø×¢TA ¸øTA·¢ÏûÏ¢ ËÍTAºì»¨ TAµÄ»ØÌû

ºúç÷

Ìú¸Ëľ³æ (ÖøÃûдÊÖ)

¡¾´ð°¸¡¿Ó¦Öú»ØÌû

¡ï ¡ï ¡ï ¡ï ¡ï
¸Ðл²ÎÓ룬ӦÖúÖ¸Êý +1
¡ó¡ô¨KÑ©¡ðoo: ½ð±Ò+5 2015-04-02 16:02:54
ÏÂͼÓиöÑõ»¯·å³öÏÖ£¬µ«ÊDz»ÖªµÀÄãµÄÌåϵ²»ºÃ¹éΪʲô·å
ÌìµØÈÎÎÒÐÐ
4Â¥2015-04-02 10:57:35
ÒÑÔÄ   »Ø¸´´ËÂ¥   ¹Ø×¢TA ¸øTA·¢ÏûÏ¢ ËÍTAºì»¨ TAµÄ»ØÌû
Ïà¹Ø°æ¿éÌø×ª ÎÒÒª¶©ÔÄÂ¥Ö÷ ¡ó¡ô¨KÑ©¡ðoo µÄÖ÷Ìâ¸üÐÂ
×î¾ßÈËÆøÈÈÌûÍÆ¼ö [²é¿´È«²¿] ×÷Õß »Ø/¿´ ×îºó·¢±í
[¿¼ÑÐ] һ־Ը˫·Ç085400µç×ÓÐÅÏ¢344 Çóµ÷¼Á£¬¶Ô²ÄÁϺͻ¯Ñ§·½ÏòÒ²¸ÐÐËȤ +11 ÎÞÇéµÄСÑò 2026-04-09 12/600 2026-04-12 17:41 by 686666
[¿¼ÑÐ] 308Çóµ÷¼Á +5 VvvvL 2026-04-10 5/250 2026-04-12 10:17 by babysonlkd
[¿¼ÑÐ] 085404 293Çóµ÷¼Á +9 ÓÂÔ¶¿â°®314 2026-04-08 9/450 2026-04-12 02:24 by Çï¶¹²ËÑ¿
[¿¼ÑÐ] ²ÄÁÏÓ뻯¹¤300Çóµ÷¼Á +39 Ф¿ªÎÄ 2026-04-09 43/2150 2026-04-12 01:30 by Çï¶¹²ËÑ¿
[¿¼ÑÐ] 312Çóµ÷¼Á +6 Àîºè·É·É 2026-04-06 6/300 2026-04-12 00:34 by À¶ÔÆË¼Óê
[¿¼ÑÐ] 267Çóµ÷¼Á +8 ÔÙæҲҪ³Ô·¹°¡ 2026-04-09 8/400 2026-04-11 21:42 by cfdbai
[¿¼ÑÐ] 291·Öµ÷¼Á +5 Éϰ¶Ð¡Ó¨¼ÓÓÍ 2026-04-09 6/300 2026-04-11 21:06 by ÄæË®³Ë·ç
[¿¼ÑÐ] µç×ÓÐÅÏ¢279Çóµ÷¼Á£¬ÓÐÊé¶Á¾ÍÐÐ +8 wwwooden 2026-04-08 11/550 2026-04-11 20:22 by cq2548
[¿¼ÑÐ] Çóµ÷¼Á +6 µçÆø300Çóµ÷¼Á²» 2026-04-08 6/300 2026-04-11 20:14 by ÄæË®³Ë·ç
[¿¼ÑÐ] Ò»Ö¾Ô¸211£¬»¯Ñ§Ñ§Ë¶£¬310·Ö£¬±¾¿ÆÖصãË«·Ç£¬Çóµ÷¼Á +17 ŬÁ¦·Ü¶·112 2026-04-06 20/1000 2026-04-11 00:31 by wangjihu
[¿¼ÑÐ] ÖпÆÔº×Ü·Ö315Çóµ÷¼Á +8 lallalh 2026-04-09 8/400 2026-04-10 19:30 by dick_runner
[¿¼ÑÐ] Ò»Ö¾Ô¸Öйú¿ÆÑ§ÔºÉϺ£ÓлúËù£¬Óлú»¯Ñ§356·ÖÕÒµ÷¼Á +11 Nadiums 2026-04-09 11/550 2026-04-09 18:04 by lijunpoly
[¿¼ÑÐ] Ò»Ö¾Ô¸ÖпÆÔº105500רҵ×Ü·Ö315Çóµ÷¼Á +6 lallalh 2026-04-09 7/350 2026-04-09 17:51 by lallalh
[¿¼ÑÐ] ÉúÎïѧ308·ÖÇóµ÷¼Á£¨Ò»Ö¾Ô¸»ª¶«Ê¦´ó£© +13 ÏàÐűػá¹ââÍòÕ 2026-04-06 16/800 2026-04-09 13:54 by ÐìÁ¼°×ü´óÏÀ
[¿¼ÑÐ] ÉúÎïѧѧ˶£¬³õÊÔ351·Ö£¬Çóµ÷¼Á +4 ¡­¡«¡¢Íõ¡­¡« 2026-04-08 5/250 2026-04-08 21:49 by limeifeng
[¿¼ÑÐ] Çóµ÷¼Á£¬ÏÖÔÚ»¹ÄÜÌîµÄ +3 Éϰ¶Ð¡Ó¨¼ÓÓÍ 2026-04-08 3/150 2026-04-08 14:30 by zhq0425
[¿¼ÑÐ] 344Çóµ÷¼Á +11 κ×Óper 2026-04-07 11/550 2026-04-07 23:01 by JourneyLucky
[¿¼ÑÐ] 312Çóµ÷¼Á +4 LR6 2026-04-06 4/200 2026-04-07 08:42 by jp9609
[¿¼ÑÐ] ²ÄÁϵ÷¼Á +5 СÁõͬѧ߹߹ 2026-04-06 5/250 2026-04-06 18:34 by sherry_1901
[¿¼ÑÐ] 285Çóµ÷¼Á +5 mapmath 2026-04-06 6/300 2026-04-06 17:18 by À¶ÔÆË¼Óê
ÐÅÏ¢Ìáʾ
ÇëÌî´¦ÀíÒâ¼û