版块导航
正在加载中...
客户端APP下载
论文辅导
调剂小程序
登录
注册
帖子
帖子
用户
本版
应《网络安全法》要求,自2017年10月1日起,未进行实名认证将不得使用互联网跟帖服务。为保障您的帐号能够正常使用,请尽快对帐号进行手机号验证,感谢您的理解与支持!
24小时热门版块排行榜
>
论坛更新日志
(923)
>
虫友互识
(64)
>
导师招生
(44)
>
休闲灌水
(29)
>
论文投稿
(24)
>
硕博家园
(23)
>
考博
(23)
>
基金申请
(17)
>
考研
(17)
>
公派出国
(16)
>
博后之家
(13)
>
找工作
(13)
>
教师之家
(9)
>
论文道贺祈福
(4)
>
文献求助
(4)
>
留学DIY
(3)
小木虫论坛-学术科研互动平台
»
化学化工区
»
催化
»
表征
»
N2吸脱附曲线
4
1/1
返回列表
查看: 626 | 回复: 3
只看楼主
@他人
存档
新回复提醒
(忽略)
收藏
在APP中查看
lzr0104
木虫
(正式写手)
应助: 0
(幼儿园)
金币: 1572.8
散金: 15
红花: 2
帖子: 375
在线: 132.8小时
虫号: 333719
注册: 2007-03-28
专业: 催化化学
[
求助
]
N2吸脱附曲线
已有2人参与
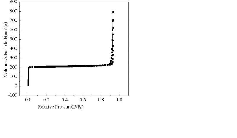
大家好,帮我分析分析氮吸脱附曲线,为什么纵坐标那么大?属于什么类型的吸脱附曲线,有无滞后环,为什么?
未命名.JPG
回复此楼
» 猜你喜欢
国家级人才课题组招收2026年入学博士
已经有1人回复
国家级人才课题组招收2026年入学博士
已经有0人回复
物理化学论文润色/翻译怎么收费?
已经有244人回复
国家级人才课题组招收2026年入学博士
已经有0人回复
大连海事大学船舶洁净能源研究中心2026年博士研究生招生启事
已经有10人回复
求 IEC 61340-4-11:2025
已经有0人回复
武汉纺织大学全国重点实验室陈嵘教授团队招收2026级学术/专业型硕士研究生(调剂)
已经有0人回复
求助哪里可以做光催化产氢的放大实验
已经有15人回复
招生帖
已经有6人回复
侯旭课题组(化学、化工、环境、能源相关方向)欢迎你的加入
已经有21人回复
» 本主题相关价值贴推荐,对您同样有帮助:
ASAP2020做出的N2吸附脱附曲线是这样的可以使用吗?
已经有8人回复
帮忙看下我 这个平均孔径是多少
已经有16人回复
N2吸附脱附 介孔材料
已经有14人回复
N2吸脱附法测纳米材料的比表面积及孔径分布- 曲线向下走,为什么
已经有12人回复
N2吸附脱附曲线
已经有5人回复
BET吸脱附曲线下端不闭合
已经有8人回复
帮忙看看N2吸附曲线,这是什么情况?
已经有9人回复
N2吸附脱附测试的处理软件
已经有5人回复
求助N2吸附脱附实验问题
已经有15人回复
大家帮我看看这两个吸附脱附曲线 主要是什么类型的孔
已经有10人回复
催化剂经压片前后N2吸附-脱附曲线可以重合吗?
已经有3人回复
氮气吸附脱附曲线中滞后环的大小说明什么含义?
已经有9人回复
有关N2等温吸脱附曲线用origin进行数据处理方面的教程
已经有6人回复
【求助】氮气吸脱附曲线不闭合
已经有15人回复
【请教】帮忙分析一张N2气吸脱附的图,不闭合
已经有9人回复
【讨论】关于N2吸附脱附的问题问题.
已经有9人回复
【求助】帮我看下等温吸附脱附曲线
已经有20人回复
【求助】N2吸脱附曲线中如何分别计算微孔面积和介孔面积呢
已经有17人回复
1楼
2014-04-21 15:15:40
已阅
回复此楼
关注TA
给TA发消息
送TA红花
TA的回帖
上官小仙
木虫
(著名写手)
前世今生
C-EPI: 2
应助: 291
(大学生)
贵宾: 0.038
金币: 4190.1
散金: 2000
红花: 94
帖子: 1334
在线: 187.1小时
虫号: 1730712
注册: 2012-04-01
性别: GG
专业: 电机与电器
【答案】应助回帖
★ ★
感谢参与,应助指数 +1
jiangyun2: 金币+1, 谢谢回帖交流,欢迎常来~
2014-04-23 12:23:08
lzr0104: 金币+1
2014-04-23 15:23:51
低压大,是由于微孔多造成的,中压比较平缓,且吸脱附重合,说明介孔不多或者几乎没有,高压区吸附量大量增加,可能是由于片状材料形成的间隙孔造成。
赞
一下
(1人)
回复此楼
虽然只有2字,作者的感情就被红果果的表现出来,由此可见作者的文采笔功,感情之热烈饱满,实在是不可多得的佳作
2楼
2014-04-23 09:15:28
已阅
回复此楼
关注TA
给TA发消息
送TA红花
TA的回帖
lzr0104
木虫
(正式写手)
引用回帖:
2楼
:
Originally posted by
上官小仙
at 2014-04-23 09:15:28
低压大,是由于微孔多造成的,中压比较平缓,且吸脱附重合,说明介孔不多或者几乎没有,高压区吸附量大量增加,可能是由于片状材料形成的间隙孔造成。
3楼
2014-04-23 15:23:37
已阅
回复此楼
关注TA
给TA发消息
送TA红花
TA的回帖
yanhanfc
木虫
(小有名气)
应助: 36
(小学生)
金币: 2603.1
红花: 8
帖子: 176
在线: 274.8小时
虫号: 3076486
注册: 2014-03-21
性别: GG
专业: 催化化学
【答案】应助回帖
★
感谢参与,应助指数 +1
cxqtitan: 金币+1, 谢谢交流
2014-04-24 07:54:06
这是Ⅳ型吸附曲线吧,吸脱附不重合,是有滞后环的。
赞
一下
回复此楼
4楼
2014-04-23 15:30:09
已阅
回复此楼
关注TA
给TA发消息
送TA红花
TA的回帖
相关版块跳转
有机交流
有机资源
高分子
无机/物化
分析
催化
工艺技术
化工设备
石油化工
精细化工
电化学
环境
SciFinder/Reaxys
我要订阅楼主
lzr0104
的主题更新
4
1/1
返回列表
如果回帖内容含有宣传信息,请如实选中。否则帐号将被全论坛禁言
普通表情
龙
兔
虎
猫
百度网盘
|
360云盘
|
千易网盘
|
华为网盘
在新窗口页面中打开自己喜欢的网盘网站,将文件上传后,然后将下载链接复制到帖子内容中就可以了。
信息提示
关闭
请填处理意见
关闭
确定