版块导航
正在加载中...
客户端APP下载
论文辅导
调剂小程序
登录
注册
帖子
帖子
用户
本版
应《网络安全法》要求,自2017年10月1日起,未进行实名认证将不得使用互联网跟帖服务。为保障您的帐号能够正常使用,请尽快对帐号进行手机号验证,感谢您的理解与支持!
24小时热门版块排行榜
>
论坛更新日志
(2980)
>
导师招生
(295)
>
虫友互识
(271)
>
文献求助
(188)
>
考博
(176)
>
硕博家园
(101)
>
休闲灌水
(101)
>
招聘信息布告栏
(100)
>
考研
(67)
>
找工作
(52)
>
公派出国
(46)
>
论文投稿
(39)
>
博后之家
(30)
>
绿色求助(高悬赏)
(29)
>
教师之家
(26)
>
基金申请
(23)
小木虫论坛-学术科研互动平台
»
化学化工区
»
电化学
»
电化基础
»
我这个镍的配合物的金属还原氧化峰去哪了?
1
1/1
返回列表
查看: 1003 | 回复: 0
只看楼主
@他人
存档
新回复提醒
(忽略)
收藏
在APP中查看
yasumi
金虫
(正式写手)
应助: 6
(幼儿园)
金币: 1405.9
散金: 756
红花: 4
帖子: 330
在线: 154.1小时
虫号: 694399
注册: 2009-01-19
性别:
MM
专业: 配位化学
[
求助
]
我这个镍的配合物的金属还原氧化峰去哪了?
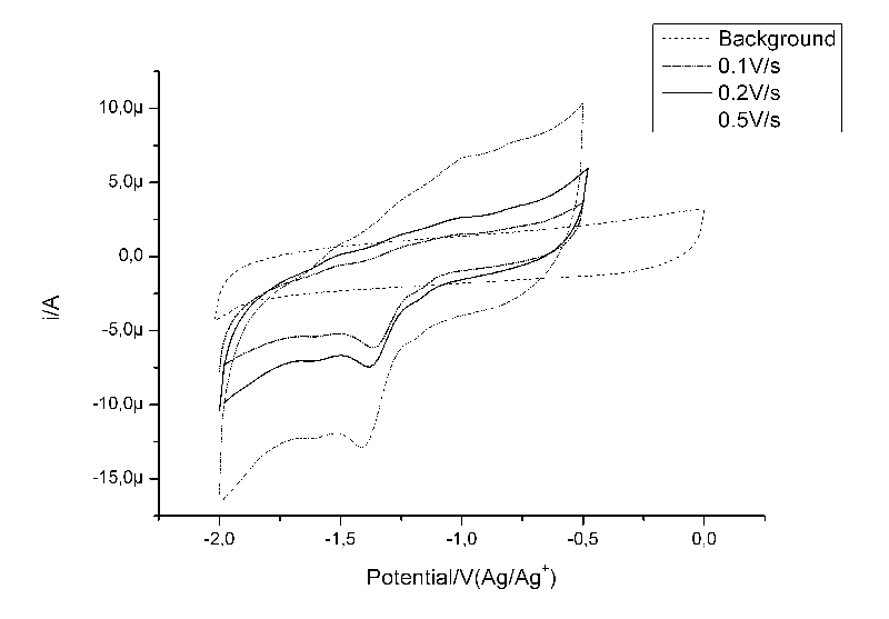
这是的镍的配合物的CV,配体是带硫醇的卡宾,但是我看不到镍的氧化还原峰啊,只有一个大的鼓包,感觉并不是金属的还原峰。。。相反在这个大鼓包的前后有两个小的突起看起来很像。。。求教这是不是金属的氧化还原峰?测了好多遍都这样,我觉得再不出峰我就疯了= =
求大侠赐教,谢谢
1.gif
回复此楼
» 猜你喜欢
德国Karlsruhe Institute of Technology招收电化学储能及联合培养CSC博士等
已经有20人回复
德国Karlsruhe Institute of Technology招收电化学储能及联合培养CSC博士
已经有24人回复
物理化学论文润色/翻译怎么收费?
已经有295人回复
德国Karlsruhe Institute of Technology招收电化学储能及联合培养CSC博士
已经有1人回复
固态锂金属电池迁移数计算求助
已经有1人回复
荷兰奈梅亨大学赵文博与Galimberti课题组招收理论计算CSC博士 2000 欧元/月+房补
已经有0人回复
26储能博士申请自荐
已经有22人回复
上海交通大学--宁波东方理工大学电池方向博士招生
已经有10人回复
海南大学全国重点实验室杨金霖老师招收储能电池方向博士生(2026年3月报名,9月入学)
已经有1人回复
海南师范大学2026年博士研究生招收 (在职想提升学历人员可报考) 申请考核制+普通招考
已经有0人回复
申博求助
已经有0人回复
不迷失,不否定,那就是坚强
1楼
2014-04-01 20:57:34
已阅
回复此楼
关注TA
给TA发消息
送TA红花
TA的回帖
智能机器人
Robot
(super robot)
我们都爱小木虫
找到一些相关的精华帖子,希望有用哦~
循环伏安法 氧化峰和还原峰的区分
已经有23人回复
超级电容器CV曲线的氧化峰对应的电位一定高于还原峰对应的电位吗?
已经有12人回复
做的循环伏安图,氧化还原峰个数不一样多
已经有4人回复
循环伏安曲线只有还原峰没有氧化峰
已经有19人回复
循环伏安法氧化还原峰
已经有5人回复
问一个有关循环伏安的氧化还原峰电位的问题
已经有4人回复
DPV有峰一定说明这是个氧化还原可逆反应吗?
已经有4人回复
水系锂电CV曲线,为什么只有还原峰,没有氧化峰
已经有20人回复
循环伏安中氧化峰和还原峰的确定
已经有10人回复
为什么氧化镍负载在氧化铝后还原峰比bulk的氧化镍高
已经有9人回复
氢气还原法。用氢气还原氧化镍,可得金属镍
已经有19人回复
联氨和镍的氧化还原电位怎么查?从哪里可以查到啊?
已经有3人回复
请教有机物的氧化还原峰问题
已经有9人回复
氢气还原氧化镍的还原度问题
已经有17人回复
【求助】CV氧化还原峰的确定
已经有19人回复
【求助】高压釜中还原氧化镍
已经有16人回复
【求助】CV的氧化还原峰
已经有7人回复
【转帖】氧化钴还原成金属钴后,在空气中容易被氧化吗
已经有12人回复
【求助】氧化势的计算方法
已经有10人回复
【求助】循环伏安法中只有还原峰没有氧化峰是什么原因
已经有33人回复
点击这里搜索更多相关资源
科研从小木虫开始,人人为我,我为人人
相关版块跳转
有机交流
有机资源
高分子
无机/物化
分析
催化
工艺技术
化工设备
石油化工
精细化工
电化学
环境
SciFinder/Reaxys
我要订阅楼主
yasumi
的主题更新
1
1/1
返回列表
如果回帖内容含有宣传信息,请如实选中。否则帐号将被全论坛禁言
普通表情
龙
兔
虎
猫
百度网盘
|
360云盘
|
千易网盘
|
华为网盘
在新窗口页面中打开自己喜欢的网盘网站,将文件上传后,然后将下载链接复制到帖子内容中就可以了。
信息提示
关闭
请填处理意见
关闭
确定