±±¾©Ê¯ÓÍ»¯¹¤Ñ§Ôº2026ÄêÑо¿ÉúÕÐÉú½ÓÊÕµ÷¼Á¹«¸æ
²é¿´: 1770  |  »Ø¸´: 8

rich1983

Í­³æ (СÓÐÃûÆø)

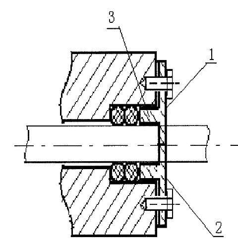
[ÇóÖú] °ïæ¿´¸öÃÜ·âµÄ½á¹¹

ͼÖÐÕâÖֶ˸Çѹ½ôÃÜ·âȦµÄ½á¹¹ÄÜ·ñʵÏÖÃܷ⣿ѹÁ¦4MPa£¬¹¤ÖÊÊÇË®¡£
°ïæ¿´¸öÃÜ·âµÄ½á¹¹
»Ø¸´´ËÂ¥

» ²ÂÄãϲ»¶

» ±¾Ö÷ÌâÏà¹Ø¼ÛÖµÌùÍÆ¼ö£¬¶ÔÄúͬÑùÓаïÖú:

ÒÑÔÄ   »Ø¸´´ËÂ¥   ¹Ø×¢TA ¸øTA·¢ÏûÏ¢ ËÍTAºì»¨ TAµÄ»ØÌû

yhp_1990

½ð³æ (СÓÐÃûÆø)

¡¾´ð°¸¡¿Ó¦Öú»ØÌû

¸Ðл²ÎÓ룬ӦÖúÖ¸Êý +1
¸öÈ˸оõ¿ÉÒÔ  4mpa²»ÊǺܴó
2Â¥2013-10-17 22:57:48
ÒÑÔÄ   »Ø¸´´ËÂ¥   ¹Ø×¢TA ¸øTA·¢ÏûÏ¢ ËÍTAºì»¨ TAµÄ»ØÌû

ncm110

гæ (СÓÐÃûÆø)

¡¾´ð°¸¡¿Ó¦Öú»ØÌû

¸Ðл²ÎÓ룬ӦÖúÖ¸Êý +1
ѹÁ¦²»´ó£¬¶øÇÒÄã²ÉÓõÄÊÇË«²ãÃܷ⣬ÎÒ¸öÈ˾õµÃûÎÊÌâ¡£
3Â¥2013-10-18 07:52:34
ÒÑÔÄ   »Ø¸´´ËÂ¥   ¹Ø×¢TA ¸øTA·¢ÏûÏ¢ ËÍTAºì»¨ TAµÄ»ØÌû

xkshangx

½û³æ (ÖøÃûдÊÖ)

¸Ðл²ÎÓ룬ӦÖúÖ¸Êý +1
±¾ÌûÄÚÈݱ»ÆÁ±Î

4Â¥2013-10-18 08:50:38
ÒÑÔÄ   »Ø¸´´ËÂ¥   ¹Ø×¢TA ¸øTA·¢ÏûÏ¢ ËÍTAºì»¨ TAµÄ»ØÌû

rich1983

Í­³æ (СÓÐÃûÆø)

ÒýÓûØÌû:
4Â¥: Originally posted by xkshangx at 2013-10-18 08:50:38
ÓÉÓÚÑ¡ÓõÄÊÇOÐÍȦÃÜ·â¼þ£¬¹ÊÃÜ·â²ÛÐÎʽ²»¶Ô£¬Ó¦¸ÃÊǵ¥¶À¿ª²Û£¬²»ÐèÒª¶Ë¸ÇµÄ

ÕâÖÖÇé¿öÊDz»ÊÇÓÃYÐÎÃÜ·âȦ¸üºÃ£¿
5Â¥2013-10-18 09:40:23
ÒÑÔÄ   »Ø¸´´ËÂ¥   ¹Ø×¢TA ¸øTA·¢ÏûÏ¢ ËÍTAºì»¨ TAµÄ»ØÌû

lixu66

½ð³æ (СÓÐÃûÆø)

±£»¤µØÇò

ÎÒÔõô¿´²»µ½Í¼£¿
ÓÐʺ°¾ÈÃü¡£
6Â¥2013-10-18 09:49:49
ÒÑÔÄ   »Ø¸´´ËÂ¥   ¹Ø×¢TA ¸øTA·¢ÏûÏ¢ ËÍTAºì»¨ TAµÄ»ØÌû

xkshangx

½û³æ (ÖøÃûдÊÖ)

±¾ÌûÄÚÈݱ»ÆÁ±Î

7Â¥2013-10-18 09:50:26
ÒÑÔÄ   »Ø¸´´ËÂ¥   ¹Ø×¢TA ¸øTA·¢ÏûÏ¢ ËÍTAºì»¨ TAµÄ»ØÌû

rich1983

Í­³æ (СÓÐÃûÆø)

ÒýÓûØÌû:
7Â¥: Originally posted by xkshangx at 2013-10-18 09:50:26
Èç¹ûÖмäµÄ¸ËÊÇÔ˶¯µÄ£¬ÓÃYÐÍÃÜ·âȦÊÇҪעÒâ°²×°·½Ïò£¬ÓÃOÐÍȦÎÞ´ËÒªÇó£¬Çҽṹ¼òµ¥¡£...

ÖмäµÄÖá²»¶¯µÄ¡£Äú¸Õ˵µÄ¡°ÃÜ·â²ÛÐÎʽ²»¶Ô£¬Ó¦¸ÃÊǵ¥¶À¿ª²Û£¬²»ÐèÒª¶Ë¸Ç¡±ÊÇÔÚʲôµØ·½µ¥¶À¿ª²Û?Âé·³ÄÜ·ñ˵µÄ¸üÇå³þÒ»µã¡£¶àл
8Â¥2013-10-18 09:58:19
ÒÑÔÄ   »Ø¸´´ËÂ¥   ¹Ø×¢TA ¸øTA·¢ÏûÏ¢ ËÍTAºì»¨ TAµÄ»ØÌû

clw571

½ð³æ (СÓÐÃûÆø)

¡¾´ð°¸¡¿Ó¦Öú»ØÌû

¸Ðл²ÎÓ룬ӦÖúÖ¸Êý +1
Ê×ÏÈ£ºOȦºÜÉÙÓÐÕâÑùÁ½¸öÖ±½Ó½Ó´¥Ê¹Óõģ¬Ò»°ãÁ½µÀÃÜ·âÒ²ÊÇÁ©¸÷Õ¼Ò»¿Ó£¬·ñÔòOȦ±äÐλá±È½ÏÂé·³¡£
Æä´Î£¬´ÓͼÉÏ·ÖÎö£¬ÄãµÄÒºÌå½éÖÊÔÚ×ó±ß£¬Õâ¸ùÖáµÄÖ§³ÅÔÚÄÄ¿´²»µ½£¬ÄãÕâÑùװȦ£¬OȦ±äÐÎÁ¿»á±È½ÏÄÑ¿ØÖÆ£¨Ëµ¼òµ¥µã£¬¼ÙÉèÖá²»ÔÚÖÐÐÄ£¬È¦Ò»±ßѹËõÁ¿´ó£¬Ò»±ßС£¬ÄǶÔOȦµÄʹÓÃÊÙÃü»áÓÐÒ»¶¨Ó°Ï죩¡£
×îºó£¬ÄãÖ»³Ðѹ4mp£¬ÎÞÂÛ¶¡Ç绹ÊÇ·úÏ𽺵ÄȦ£¬Ò»¸ö×ãÒÓ¡£
Thereisnofate,butwhatwemake
9Â¥2013-10-18 13:16:05
ÒÑÔÄ   »Ø¸´´ËÂ¥   ¹Ø×¢TA ¸øTA·¢ÏûÏ¢ ËÍTAºì»¨ TAµÄ»ØÌû
Ïà¹Ø°æ¿éÌø×ª ÎÒÒª¶©ÔÄÂ¥Ö÷ rich1983 µÄÖ÷Ìâ¸üÐÂ
×î¾ßÈËÆøÈÈÌûÍÆ¼ö [²é¿´È«²¿] ×÷Õß »Ø/¿´ ×îºó·¢±í
[¿¼ÑÐ] 22408 ×Ü·Ö320£¬Ò»ÆªÂÛÎĶþ×÷£¬Á½¸ö¹úÈý£¬Çóµ÷¼Á +3 Leomulufu 2026-04-04 5/250 2026-04-05 19:04 by chongya
[¿¼ÑÐ] 296Çóµ÷¼Á +3 Íô£¡£¿£¡ 2026-04-05 5/250 2026-04-05 17:38 by À¶ÔÆË¼Óê
[¿¼ÑÐ] 0703×Ü·Ö331Çóµ÷¼Á +10 ZY-05 2026-04-04 13/650 2026-04-05 11:03 by xiayan13521
[¿¼ÑÐ] 070300»¯Ñ§Ñ§Ë¶311·ÖÇóµ÷¼Á +10 Áº¸»¹óÏÕÖÐÇó 2026-04-04 12/600 2026-04-05 09:37 by guoweigw
[¿¼ÑÐ] ÄÐÉú£¬Ò»Ö¾Ô¸»¦9ÉúÎïѧ071000£¬³õÊÔ308Çóµ÷¼Á +3 Áõīī 2026-04-04 3/150 2026-04-05 08:26 by barlinike
[¿¼ÑÐ] ¿¼Ñе÷¼Á +11 СsunÒªºÃÔË 2026-04-04 11/550 2026-04-05 08:02 by qlm5820
[¿¼ÑÐ] 324Çóµ÷¼Á +9 ÏëÉÏѧÇóµ÷ 2026-04-03 9/450 2026-04-04 23:57 by ¹û¶³´óÍõ
[¿¼ÑÐ] ²ÄÁÏÓ뻯¹¤306·ÖÕÒµ÷¼Á +12 ²×º£ÇáÖÛe 2026-04-03 13/650 2026-04-04 23:45 by lqwchd
[¿¼ÑÐ] Ò»Ö¾Ô¸Ö£ÖÝ´óѧ²ÄÁÏÓ뻯¹¤085600£¬Çóµ÷¼Á +24 ³ÔµÄ²»ÉÙ 2026-04-02 24/1200 2026-04-04 23:20 by ÓÀ×ÖºÅ
[¿¼ÑÐ] µ÷¼Á +4 ÊÇ¿ÉÀÖ²»ÊÇ¿ÉÀÖ 2026-04-04 4/200 2026-04-04 19:41 by ÌÆãå¶ù
[¿¼ÑÐ] Ò»Ö¾Ô¸»¦985£¬326·ÖÇóµ÷¼Á +3 Áõīī 2026-04-03 3/150 2026-04-04 11:16 by ±¯É˵ÄÓóÍ·
[¿¼ÑÐ] 0856£¬269·ÖÇóµ÷¼Á +15 ÓÐѧÉϾÍÐÐÇóÇóÁ 2026-03-30 18/900 2026-04-03 16:50 by melodiousnow
[¿¼ÑÐ] Çóµ÷¼Á +3 usbdndj 2026-04-03 3/150 2026-04-03 14:10 by dxiaoxin
[¿¼ÑÐ] ÉúÎïѧ˶341Çóµ÷¼Á +4 ÄãЦÆðÀ´ÏñÔÆ¶ä 2026-04-03 4/200 2026-04-03 10:32 by macy2011
[¿¼ÑÐ] 085600 295·ÖÇóµ÷¼Á +19 W55j 2026-03-30 23/1150 2026-04-03 09:53 by ǧǧÔËÆø
[¿¼ÑÐ] Ò»Ö¾Ô¸Éî´ó085601²ÄÁϹ¤³Ìרҵ£¨×¨Ë¶£©300·Ö¿ÉÒÔµ÷¼ÁÈ¥ÄÄ +8 10160315 2026-04-02 8/400 2026-04-03 09:36 by hypershenger
[¿¼ÑÐ] Çóµ÷¼Á£¡ÉúÎïÓëҽҩר˶ +4 Äæ×ªÂ½ÏÈÉú 2026-04-01 5/250 2026-04-03 08:33 by Jaylen.
[¿¼ÑÐ] 318Çóµ÷¼Á£¬¼ÆËã²ÄÁÏ·½Ïò +10 Îüß÷Óк¦óÏÃü 2026-04-01 11/550 2026-04-02 16:29 by oooqiao
[¿¼ÑÐ] 0805Çóµ÷¼Á +8 ÊÇË®·Ö 2026-03-31 8/400 2026-04-02 10:46 by guanxin1001
[¿¼ÑÐ] 085600£¬321·ÖÇóµ÷¼Á +13 ´ó²öС×Ó 2026-03-31 13/650 2026-04-01 12:35 by chemdavid
ÐÅÏ¢Ìáʾ
ÇëÌî´¦ÀíÒâ¼û