| 查看: 555 | 回复: 2 | ||
huhu52599木虫 (正式写手)
|
[求助]
铁基催化剂TPR表征
|
|
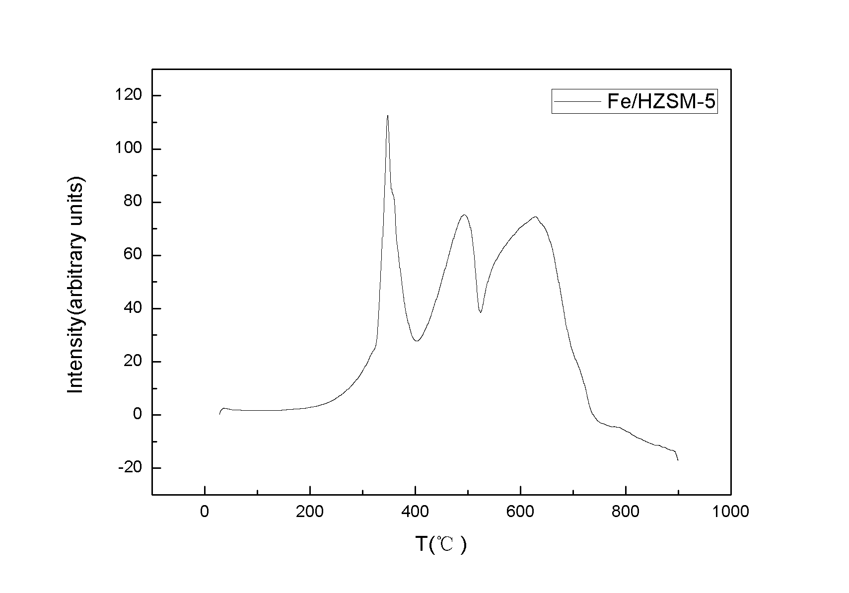
我是做费托合成的,用ZSM-5做的载体,活性组分是Fe,也就是Fe/ZSM-5催化剂,如果是单纯的铁做催化剂,做H2-TPR的时候是两个峰,但是Fe/ZSM-5的H2-TPR是三个峰,这是为什么呢?这三个峰都分别是什么呢?跪求解释啊 FeHZSM-5.gif Graph1.gif |
» 猜你喜欢
国家级人才团体课题组招收2026届化学类学硕,专硕。
已经有0人回复
国家级人才课题组招收2026年化学,材料化工 调剂生
已经有0人回复
化学工程及工业化学论文润色/翻译怎么收费?
已经有280人回复
大连工业大学招硕士研究生
已经有0人回复
国家级人才课题组招收2026年化学,材料化工 调剂生
已经有0人回复
河南理工大学招收材料,化工,化学调剂生
已经有0人回复
招收调剂
已经有0人回复
国家级人才课题组招收2026年化学,材料化工 调剂生
已经有0人回复
国家级人才团体课题组招收2026届化学类学硕,专硕。
已经有1人回复
河南理工大学绿色催化课题组招收材料,化工,化学等方向研究生
已经有0人回复
国家级人才课题组招研究生 (催化方向)调剂
已经有6人回复
» 本主题相关价值贴推荐,对您同样有帮助:
三氯化钌和氢氧化钠反应的问题
已经有10人回复
共沉淀制备CuZnAl催化剂,H2-TPR表征出现一个还原峰怎么解释?
已经有6人回复
TPR图能否说明助剂的添加改善了催化剂的还原性能
已经有24人回复
纳米金催化剂做TPR是在煅烧前做还是在煅烧后做?
已经有5人回复
H2-TPR和CO-TPR区别,急
已经有13人回复
H2-TPR表征求助,审稿人问为什么用N2不用Ar?
已经有5人回复
关于pd催化剂,TPR析出峰
已经有9人回复
催化剂H2-TPR表征时,为什么要用冰水浴处理那个铁环?而TPD不采用。
已经有15人回复
【求助】如何根据TPR 来确定催化剂的还原温度
已经有25人回复
【求助】对比Ni-Mo\Al2O3加氢精制催化剂化学吸附分析 TRD,TPR等
已经有25人回复
【求助】请问有没有比较好的催化剂表征设备,可以做TPR,TPD,分散度,粒度等等
已经有5人回复
【交流】关于XRF与XRD的问题
已经有16人回复
【求助】TPR表征解析
已经有13人回复
【求助】催化剂TPR
已经有3人回复
【求助】关于TPR计算催化剂的还原度问题
已经有5人回复
andyyyu
铁杆木虫 (著名写手)
守卫者
- 应助: 431 (硕士)
- 贵宾: 0.299
- 金币: 7311.6
- 散金: 560
- 红花: 38
- 帖子: 1339
- 在线: 452.7小时
- 虫号: 853976
- 注册: 2009-09-22
- 性别: GG
- 专业: 催化化学
【答案】应助回帖
★ ★ ★ ★ ★ ★ ★
感谢参与,应助指数 +1
cxqtitan: 金币+2, 谢谢分享 2013-03-17 21:27:15
huhu52599: 金币+5, ★★★很有帮助 2013-03-18 16:35:26
感谢参与,应助指数 +1
cxqtitan: 金币+2, 谢谢分享 2013-03-17 21:27:15
huhu52599: 金币+5, ★★★很有帮助 2013-03-18 16:35:26
| 对于变价元素氧化物的H2-TPR峰的归属从来就是存在争议的。不太清楚你的活性组分铁的前驱体盐是什么(或是硝酸铁),制备过程怎样。但从你简单的描述和两个H2-TPR图上分析,单纯铁(应该是氧化物形式)有两个还原峰,分别位于近370度和600度(600度出不仅一个还原峰,有肩峰现象),而担载在HZSM-5上后,在500度左右出现一个新的还原峰,前后比较应该归属为载体表面高分散的铁氧化物的还原(或部分还原)或是与载体强相互作用的铁氧化物的还原。据实的归属还要参考相应文献报道或是依靠设计试验或表征方法验证。 |

2楼2013-03-17 21:25:05
huhu52599
木虫 (正式写手)
- 应助: 4 (幼儿园)
- 金币: 3554.2
- 散金: 10
- 红花: 1
- 帖子: 345
- 在线: 343.8小时
- 虫号: 1716779
- 注册: 2012-03-26
- 性别: MM
- 专业: 化学工程及工业化学
3楼2013-03-18 16:35:07














回复此楼