版块导航
正在加载中...
客户端APP下载
登录
注册
帖子
帖子
用户
本版
应《网络安全法》要求,自2017年10月1日起,未进行实名认证将不得使用互联网跟帖服务。为保障您的帐号能够正常使用,请尽快对帐号进行手机号验证,感谢您的理解与支持!
24小时热门版块排行榜
>
论坛更新日志
(3257)
>
虫友互识
(408)
>
考博
(204)
>
导师招生
(201)
>
文献求助
(165)
>
基金申请
(141)
>
休闲灌水
(103)
>
仿真模拟
(45)
>
文学芳草园
(44)
>
硕博家园
(33)
>
论文投稿
(31)
>
博后之家
(25)
>
找工作
(20)
>
公派出国
(20)
>
考研
(20)
>
催化
(19)
小木虫论坛-学术科研互动平台
»
材料区
»
微米和纳米
»
学术讨论
»
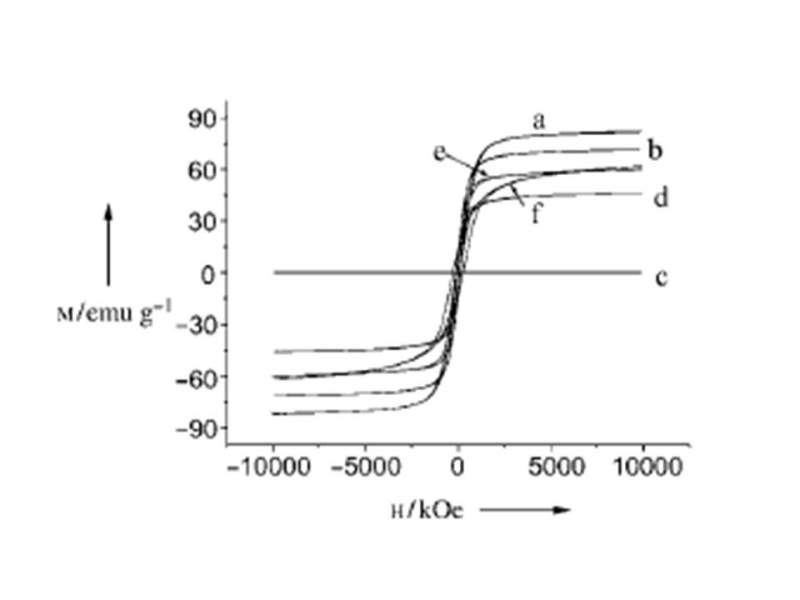
从此图可否知道作者测试样品的最大磁场强度为多少?
5
1/1
返回列表
查看: 837 | 回复: 4
只看楼主
@他人
存档
新回复提醒
(忽略)
收藏
在APP中查看
Hanbingwf
木虫
(正式写手)
应助: 9
(幼儿园)
金币: 3007.9
散金: 114
红花: 2
帖子: 403
在线: 219.1小时
虫号: 525394
注册: 2008-03-15
性别: GG
专业: 无机非金属类光电信息与功
[交流]
从此图可否知道作者测试样品的最大磁场强度为多少?
已有2人参与
请高手帮忙,通过此图可否知道作者使用的磁场强度为多少?
VSM.jpg,磁场强度
回复此楼
» 猜你喜欢
求助WO3.cif文件 对应PDF卡片 43-1035,单斜晶系 , P21/n 。
已经有2人回复
稀土发光分析|核壳结构|寿命拟合
已经有13人回复
无机化学论文润色/翻译怎么收费?
已经有139人回复
稀土发光分析|核壳结构|寿命拟合
已经有6人回复
稀土发光分析|核壳结构|寿命拟合
已经有0人回复
稀土发光分析|核壳结构|寿命拟合
已经有0人回复
26 届青岛大学纺织化学与染整工程硕士(液体纳米分散染料方向)求申博建议
已经有4人回复
26 届青岛大学纺织化学与染整工程(液体纳米分散染料)求浙理工纺织 / 材料博导名额
已经有1人回复
敢问Acta Pharmaceutica Sinica B with Editor 三周了,能是什么情况?
已经有0人回复
求助 CeO2 Fe3O4 Cu2S CoFe2O4 标准卡 Jade 导出的数据
已经有0人回复
高级回复
» 本主题相关价值贴推荐,对您同样有帮助:
同一种材料,样品的磁饱和强度不同,是什么原因造成的啊?大家常见的原因都有哪些啊
已经有11人回复
金属铝,铁等900℃下是否会对磁场强度产生影响
已经有5人回复
陶的强度高还是瓷的强度高?
已经有4人回复
M-T 曲线测试加多大磁场?
已经有5人回复
玻璃上面镀的薄膜 想测试薄膜的磁性 用SQUID测试时外加磁场方向应该是什么样的?
已经有4人回复
求助:饱和磁化强度随温度升高而升高这是怎么回事
已经有7人回复
简单磁学的几个问题!
已经有20人回复
振动样品强磁计VSM测试饱和磁感应强度数据转换。求饱和磁感应强度怎么转换
已经有6人回复
请问谁知道如何测量小空间范围内的微弱磁场变化?
已经有3人回复
求助 如何给设备外加一个外磁场
已经有15人回复
真空、氩气、空气三种气氛下磁铁所表现出来的磁场是否相同,是个什么关系
已经有10人回复
由磁化曲线和磁滞回线获得磁参数的基本问题,求教!
已经有39人回复
XRD测试 样品的衍射峰的位置与PDF卡片吻合 但强度不吻合 求解释
已经有16人回复
VSM的图怎么是这样的啊,不仅不是回线,饱和磁强度也太低了吧,(质量为0.1g左右)
已经有9人回复
[求助]磁性薄膜饱和磁化的计算
已经有9人回复
【求助】求助测磁场强度的方法
已经有3人回复
【求助】3kw的发电机在100米处产生的磁场强度有多大
已经有3人回复
【求助/交流】4000LX光照强度相当于几个9W的白炽灯?
已经有12人回复
1楼
2014-07-15 22:22:27
已阅
回复此楼
关注TA
给TA发消息
送TA红花
TA的回帖
pptang
荣誉版主
(著名写手)
应助: 11
(小学生)
贵宾: 3.85
金币: 1852.9
散金: 3463
红花: 4
帖子: 2336
在线: 332.2小时
虫号: 67
注册: 2003-03-01
性别: GG
专业: 电工材料特性及其应用
管辖:
论文翻译
单位搞错了吧?
回复此楼
您的支持,是我的动力!!!
2楼
2014-07-16 07:36:55
已阅
回复此楼
关注TA
给TA发消息
送TA红花
TA的回帖
metaliium
银虫
(正式写手)
应助: 69
(初中生)
金币: 2368.1
散金: 25
红花: 12
帖子: 439
在线: 118.4小时
虫号: 1916175
注册: 2012-07-30
专业: 凝聚态物性 II :电子结构
★
小木虫: 金币+0.5, 给个红包,谢谢回帖
1000特斯拉??!!!膜拜。。。
赞
一下
回复此楼
3楼
2014-07-16 08:20:22
已阅
回复此楼
关注TA
给TA发消息
送TA红花
TA的回帖
Hanbingwf
木虫
(正式写手)
应助: 9
(幼儿园)
金币: 3007.9
散金: 114
红花: 2
帖子: 403
在线: 219.1小时
虫号: 525394
注册: 2008-03-15
性别: GG
专业: 无机非金属类光电信息与功
引用回帖:
3楼
:
Originally posted by
metaliium
at 2014-07-16 08:20:22
1000特斯拉??!!!膜拜。。。
这是李亚栋院士2005年制备Fe3O4里面的一个磁性图!!
赞
一下
回复此楼
4楼
2014-07-16 13:30:45
已阅
回复此楼
关注TA
给TA发消息
送TA红花
TA的回帖
Hanbingwf
木虫
(正式写手)
应助: 9
(幼儿园)
金币: 3007.9
散金: 114
红花: 2
帖子: 403
在线: 219.1小时
虫号: 525394
注册: 2008-03-15
性别: GG
专业: 无机非金属类光电信息与功
是2005那篇angew chem!!大家都称谓经典合成Fe3O4!怎么会出错呢!
赞
一下
回复此楼
5楼
2014-07-16 13:32:58
已阅
回复此楼
关注TA
给TA发消息
送TA红花
TA的回帖
相关版块跳转
材料综合
材料工程
微米和纳米
晶体
金属
无机非金属
生物材料
功能材料
复合材料
我要订阅楼主
Hanbingwf
的主题更新
5
1/1
返回列表
如果回帖内容含有宣传信息,请如实选中。否则帐号将被全论坛禁言
普通表情
龙
兔
虎
猫
高级回复
(可上传附件)
百度网盘
|
360云盘
|
千易网盘
|
华为网盘
在新窗口页面中打开自己喜欢的网盘网站,将文件上传后,然后将下载链接复制到帖子内容中就可以了。
信息提示
关闭
请填处理意见
关闭
确定