| ²é¿´: 1936 | »Ø¸´: 3 | ||
kuijgp6Òø³æ (ÕýʽдÊÖ)
|
[ÇóÖú]
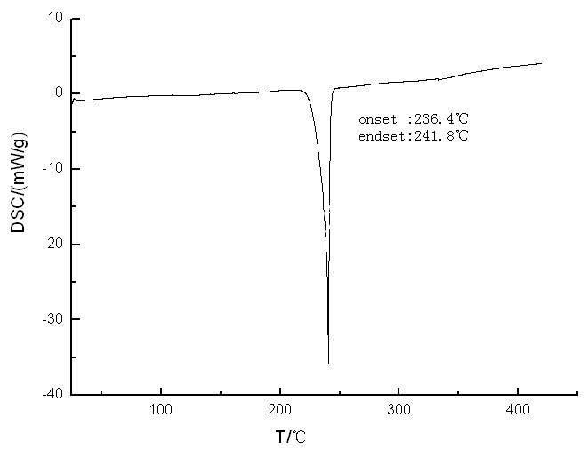
origin´¦ÀíDSCÇúÏß
|
|
|
|
||
kuijgp6Òø³æ (ÕýʽдÊÖ)
|
||
|
2Â¥2014-04-11 19:57:11
|
|
|
|
||
|
3Â¥2014-04-12 21:13:53
|
|
|
DRMF89гæ (ÖøÃûдÊÖ)
|
||
|
4Â¥2014-07-01 19:55:36
|
|














»Ø¸´´ËÂ¥