| 查看: 1421 | 回复: 11 | ||
[求助]
气压传动与PLC通信的问题 已有4人参与
|
||
|
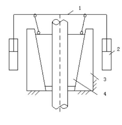
动作为1个阀控制4个气缸同时上升和下降,气缸带动铁块上下运动,通过斜面夹紧和放松。如图。控制为PLC控制。这是不是也太简单了,PLC的顺序控制而已,用得着扯到PLC的通信方面吗?这量也够作为硕士的论文课题吧?求各位大侠指点 32131231.png |
» 猜你喜欢
2026考研调剂上海工程技术大学材料学院
已经有0人回复
2026上海工程技术大学李老师化学材料机械计算机方向招硕士7-10名
已经有0人回复
工程热物理与能源利用论文润色/翻译怎么收费?
已经有296人回复
上海工程技术大学材料方向招收硕士7-10名
已经有10人回复
求调剂建议
已经有0人回复
国产沪模心肺复苏:从厂家到品牌,深度剖析
已经有0人回复
085500机械 335求调剂
已经有0人回复
西安石油大学新能源学院接收材料类、能源动力类、机械类、计算机类等专业专硕调剂生!
已经有8人回复
西安石油大学新能源学院接收材料类、能源动力类、机械类、计算机类等专业专硕调剂生!
已经有9人回复
JMPT期刊有字数限制吗
已经有0人回复
动力工程求调剂
已经有0人回复
SHIFENG18
铁杆木虫 (正式写手)
- 应助: 338 (大学生)
- 金币: 5089.7
- 红花: 50
- 帖子: 725
- 在线: 157.7小时
- 虫号: 214455
- 注册: 2006-03-10
- 性别: GG
- 专业: 制造系统与自动化

5楼2016-08-01 14:45:05
peterflyer
木虫之王 (文学泰斗)
peterflyer
- 机械EPI: 4
- 应助: 20282 (院士)
- 金币: 146216
- 红花: 1374
- 帖子: 93091
- 在线: 7694.3小时
- 虫号: 1482829
- 注册: 2011-11-08
- 性别: GG
- 专业: 功能陶瓷
2楼2016-08-01 06:32:54
3楼2016-08-01 09:33:10
godtornado
至尊木虫 (知名作家)
- 应助: 1549 (讲师)
- 金币: 12182.5
- 红花: 51
- 沙发: 2
- 帖子: 9472
- 在线: 612小时
- 虫号: 4764786
- 注册: 2016-06-10
- 性别: GG
- 专业: 外国语言
4楼2016-08-01 09:58:57
6楼2016-08-02 11:37:49
|
本帖内容被屏蔽 |
7楼2016-08-02 11:44:35
8楼2016-08-02 12:07:39
9楼2016-08-03 09:57:59
10楼2016-08-03 09:58:22














回复此楼
su27sk