±±¾©Ê¯ÓÍ»¯¹¤Ñ§Ôº2026ÄêÑо¿ÉúÕÐÉú½ÓÊÕµ÷¼Á¹«¸æ
²é¿´: 262  |  »Ø¸´: 0

wang´óѧ

гæ (СÓÐÃûÆø)

[ÇóÖú] ÈÈÖØ·ÖÎö

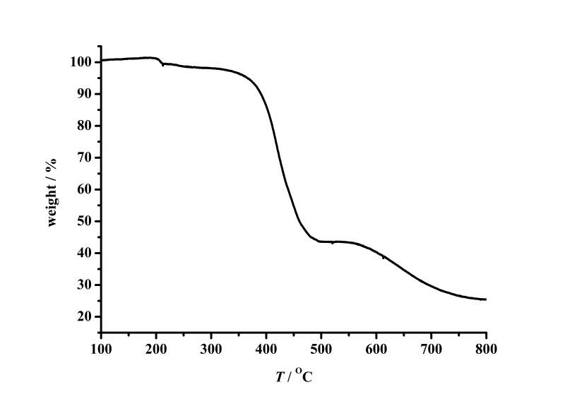
¸÷룬ÇëÎÊ500 ¡æµ½800 ¡æÖ®¼äʧȥµÄÊÇʲôÎïÖÊ£¿
Åä·½£ºCoCl2+bpe+NH4VO3

ÈÈÖØ·ÖÎö
ÈÈÖØ.jpg
»Ø¸´´ËÂ¥
ÒÑÔÄ   »Ø¸´´ËÂ¥   ¹Ø×¢TA ¸øTA·¢ÏûÏ¢ ËÍTAºì»¨ TAµÄ»ØÌû
Ïà¹Ø°æ¿éÌø×ª ÎÒÒª¶©ÔÄÂ¥Ö÷ wang´óѧ µÄÖ÷Ìâ¸üÐÂ
×î¾ßÈËÆøÈÈÌûÍÆ¼ö [²é¿´È«²¿] ×÷Õß »Ø/¿´ ×îºó·¢±í
[¿¼ÑÐ] 085600²ÄÁÏÓ뻯¹¤301·ÖÇóµ÷¼ÁԺУ +18 ´ÌÍ´jk 2026-04-06 19/950 2026-04-07 00:02 by longlong0822
[¿¼ÑÐ] 285Çóµ÷¼Á +15 ŶßϺôo 2026-04-04 17/850 2026-04-06 23:02 by chenzhimin
[¿¼ÑÐ] 304Çóµ÷¼Á +4 luoye0105 2026-04-05 4/200 2026-04-06 21:05 by ľ×Ó¾ý1218
[¿¼ÑÐ] 26×ÔÈ»µØÀíѧ303·ÖÇóµ÷¼Á +4 Ò»Õ½³É˶°¡°¡°¡° 2026-04-06 9/450 2026-04-06 20:35 by lin-da
[¿¼ÑÐ] Ò»Ö¾Ô¸±±½»´ó²ÄÁϹ¤³Ì×Ü·Ö358Çóµ÷¼Á +10 cs0106 2026-04-05 12/600 2026-04-06 19:41 by Î޼ʵIJÝÔ­
[¿¼ÑÐ] ÉúÎïÓëÒ½Ò©Çóµ÷¼Á +7 heguanhua 2026-04-05 8/400 2026-04-06 18:41 by macy2011
[¿¼ÑÐ] 331Çóµ÷¼Á +8 ÓÚÕ÷yz 2026-04-05 8/400 2026-04-06 00:54 by fmesaito
[¿¼ÑÐ] 288Çóµ÷¼Á£¬Ò»Ö¾Ô¸»ªÄÏÀí¹¤´óѧ071005 +6 ioodiiij 2026-04-04 6/300 2026-04-05 10:09 by guoweigw
[¿¼ÑÐ] Ò»Ö¾Ô¸½­ÄÏ´óѧ085501»úе¹¤³Ìר˶326·Ö£¬±¾¿Æ¼Ñľ˹´óѧ +5 ¹ËÈô¸¡Éú 2026-04-03 9/450 2026-04-05 09:57 by 1753564080
[¿¼ÑÐ] ²ÄÁϵ÷¼Á +15 Ò»ÑùYWY 2026-04-01 15/750 2026-04-04 22:23 by hemengdong
[¿¼ÑÐ] ²ÄÁϵ÷¼Á +18 Ò»ÑùYWY 2026-04-02 19/950 2026-04-04 22:14 by hemengdong
[¿¼ÑÐ] Ò»Ö¾Ô¸»¦9£¬ÇóÉúÎïѧµ÷¼Á£¬326·Ö +6 Áõīī 2026-04-04 6/300 2026-04-04 19:44 by ÌÆãå¶ù
[¿¼ÑÐ] Ò»Ö¾Ô¸¶«±±´óѧ085901ÍÁľר˶345Çóµ÷¼Á +3 zxt11111 2026-04-04 3/150 2026-04-04 14:21 by ÍÁľ˶ʿÕÐÉú
[¿¼ÑÐ] ÍÁľ304Çóµ÷¼Á +4 ÍÃͻͻͻ£¬ 2026-03-31 4/200 2026-04-04 13:34 by 1753564080
[¿¼ÑÐ] ²ÄÁÏרҵ383Çóµ÷¼Á +8 ¹ùÑôÑôÑô³É 2026-04-03 8/400 2026-04-04 10:29 by Rednal.
[¿¼ÑÐ] 285Çóµ÷¼Á +5 AZMK 2026-04-03 8/400 2026-04-03 18:17 by AZMK
[¿¼ÑÐ] ¸´ÊÔµ÷¼Á +3 bvzz 2026-04-01 3/150 2026-04-03 09:47 by À¶ÔÆË¼Óê
[¿¼ÑÐ] ²ÄÁϹ¤³Ì322·Ö +8 ¹þ¹þ¹þºðºðºð¹þ 2026-04-01 8/400 2026-04-02 11:53 by 3041
[¿¼ÑÐ] Çóµ÷¼Á0703 +5 ÖܼÎÒ¢ 2026-03-31 8/400 2026-04-01 20:32 by ltltkkk
[¿¼ÑÐ] 267Çóµ÷¼Á +13 uiybh 2026-03-31 13/650 2026-04-01 10:25 by ̽123
ÐÅÏ¢Ìáʾ
ÇëÌî´¦ÀíÒâ¼û