版块导航
正在加载中...
客户端APP下载
论文辅导
调剂小程序
登录
注册
帖子
帖子
用户
本版
应《网络安全法》要求,自2017年10月1日起,未进行实名认证将不得使用互联网跟帖服务。为保障您的帐号能够正常使用,请尽快对帐号进行手机号验证,感谢您的理解与支持!
24小时热门版块排行榜
>
论坛更新日志
(3406)
>
虫友互识
(543)
>
导师招生
(345)
>
文献求助
(336)
>
硕博家园
(142)
>
考博
(127)
>
考研
(127)
>
休闲灌水
(111)
>
博后之家
(90)
>
招聘信息布告栏
(80)
>
基金申请
(43)
>
论文投稿
(42)
>
教师之家
(37)
>
公派出国
(37)
>
攻关文献(高奖励)
(33)
>
论文道贺祈福
(30)
小木虫论坛-学术科研互动平台
»
化学化工区
»
电化学
»
电化学传感器
»
【求助】帮忙看看我在用接酶的电极上响应葡萄糖的时候的图,问题在哪呢?
3
1/1
返回列表
查看: 434 | 回复: 2
只看楼主
@他人
存档
新回复提醒
(忽略)
收藏
在APP中查看
glenn_9
银虫
(小有名气)
应助: 0
(幼儿园)
金币: 332.5
散金: 30
帖子: 53
在线: 23.7小时
虫号: 1937759
注册: 2012-08-14
性别: GG
专业: 无机纳米化学
[
求助
]
【求助】帮忙看看我在用接酶的电极上响应葡萄糖的时候的图,问题在哪呢?
已有1人参与
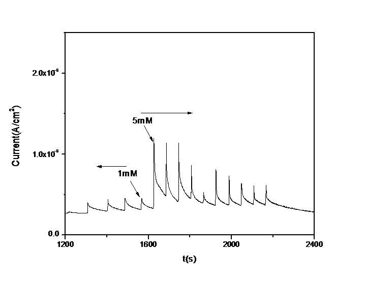
响应的过程中注入葡萄糖,基线走了很久,差不多都平了,但是结果却是得不到阶梯形的响应,反而是这种锯齿形,求大牛帮忙分析,问题解决后重金酬谢
1.jpg
回复此楼
» 猜你喜欢
德国Karlsruhe Institute of Technology招收电化学储能及联合培养CSC博士等
已经有20人回复
德国Karlsruhe Institute of Technology招收电化学储能及联合培养CSC博士
已经有24人回复
分析化学论文润色/翻译怎么收费?
已经有123人回复
德国Karlsruhe Institute of Technology招收电化学储能及联合培养CSC博士
已经有1人回复
固态锂金属电池迁移数计算求助
已经有1人回复
荷兰奈梅亨大学赵文博与Galimberti课题组招收理论计算CSC博士 2000 欧元/月+房补
已经有0人回复
26储能博士申请自荐
已经有23人回复
上海交通大学--宁波东方理工大学电池方向博士招生
已经有10人回复
海南大学全国重点实验室杨金霖老师招收储能电池方向博士生(2026年3月报名,9月入学)
已经有1人回复
海南师范大学2026年博士研究生招收 (在职想提升学历人员可报考) 申请考核制+普通招考
已经有1人回复
申博求助
已经有0人回复
» 本主题相关价值贴推荐,对您同样有帮助:
葡萄糖脱氢酶催化葡萄糖反应产物是什么??
已经有5人回复
有个关于第三代葡萄糖传感器的问题困惑我好久了
已经有5人回复
求问葡萄糖和硫酸根在高温下反应吗?怎么反应呢?
已经有4人回复
葡萄糖传感器的工作原理是什么?在电极上的反应时怎样的?
已经有6人回复
求助葡萄糖氧化酶检测
已经有18人回复
电流时间曲线疑问?
已经有11人回复
葡萄糖电化学传感器的疑问。
已经有9人回复
大家是用什么溶液清洗葡萄糖水热做碳球后的聚四氟乙烯反应釜的啊?
已经有28人回复
有关第三代葡萄糖生物传感器的询问
已经有14人回复
葡萄糖氧化酶在玻碳电极上直接出峰了?
已经有12人回复
用葡萄糖氧化酶做循环伏安法时候出不来峰值
已经有38人回复
【求助】纤维素(葡萄糖)替代甲醛,与苯酚或者尿素反应的问题?
已经有3人回复
【讨论】对电极上的反应
已经有15人回复
不忘初心,方得始终。
1楼
2014-12-23 09:42:47
已阅
回复此楼
关注TA
给TA发消息
送TA红花
TA的回帖
实验室大蘑菇
铜虫
(小有名气)
应助: 33
(小学生)
金币: 81.5
红花: 6
帖子: 167
在线: 18.9小时
虫号: 3607382
注册: 2014-12-22
专业: 电化学
【答案】应助回帖
感谢参与,应助指数 +1
这让我想起一个电化学方法测中药成分的图,叫做什么震荡来着?你用搅拌吗?用的什么搅拌?
赞
一下
回复此楼
蘑菇,吃吃吃。
2楼
2014-12-23 16:30:34
已阅
回复此楼
关注TA
给TA发消息
送TA红花
TA的回帖
glenn_9
银虫
(小有名气)
应助: 0
(幼儿园)
金币: 332.5
散金: 30
帖子: 53
在线: 23.7小时
虫号: 1937759
注册: 2012-08-14
性别: GG
专业: 无机纳米化学
引用回帖:
2楼
:
Originally posted by
实验室大蘑菇
at 2014-12-23 16:30:34
这让我想起一个电化学方法测中药成分的图,叫做什么震荡来着?你用搅拌吗?用的什么搅拌?
有搅拌,是磁力搅拌的。。
赞
一下
回复此楼
不忘初心,方得始终。
3楼
2014-12-23 21:40:15
已阅
回复此楼
关注TA
给TA发消息
送TA红花
TA的回帖
相关版块跳转
有机交流
有机资源
高分子
无机/物化
分析
催化
工艺技术
化工设备
石油化工
精细化工
电化学
环境
SciFinder/Reaxys
我要订阅楼主
glenn_9
的主题更新
3
1/1
返回列表
如果回帖内容含有宣传信息,请如实选中。否则帐号将被全论坛禁言
普通表情
龙
兔
虎
猫
百度网盘
|
360云盘
|
千易网盘
|
华为网盘
在新窗口页面中打开自己喜欢的网盘网站,将文件上传后,然后将下载链接复制到帖子内容中就可以了。
信息提示
关闭
请填处理意见
关闭
确定