| 查看: 1543 | 回复: 2 | ||
逢寅木虫 (正式写手)
|
[求助]
求助:四点弯实验的挠度怎么测量
|
|
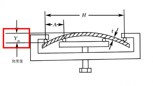
要做实验了,夹具是四点弯的夹具,不知道计算公式里的挠度怎么测量的。 看图的话直接测量这个距离就好了,可是看论文好多是说用的挠度计,这个有什么要求吗?还是我理解的不对,请各位大虫给我指导指导啊,先谢过了! 四点弯夹具图.png |
» 猜你喜欢
急急急,请教各位材料前辈,纳米笼的官方定义,尺寸是不是<10nm?
已经有5人回复
求各位推荐几家靠谱的能够用BI-200SM仪器测试DLS的高校或者机构
已经有2人回复
冶金与矿业论文润色/翻译怎么收费?
已经有218人回复
模拟工业电积锌遇到问题
已经有2人回复
北京市自然科学基金面上项目成员组成请教
已经有1人回复
求助《中国高等教育》期刊投稿方法
已经有4人回复
E51+金属镓固化后有很多气泡怎么搞
已经有2人回复
请问癸二酸可以和碳酸二苯酯发生酯交换反应吗,条件是什么?感谢!
已经有8人回复
26年申博求助
已经有2人回复
退役光伏组件回收处置风险评估报告
已经有0人回复
» 本主题相关价值贴推荐,对您同样有帮助:
三点弯曲和四点弯曲试验
已经有7人回复
四点弯曲时的载荷测量
已经有6人回复
【求助】三点弯曲中不均匀尺寸的处理问题
已经有4人回复
【求助/交流】ELISA方法测量猪瘟病毒攻毒后抗体滴度的实验
已经有6人回复

peterflyer
木虫之王 (文学泰斗)
peterflyer
- 应助: 20282 (院士)
- 金币: 145967
- 红花: 1374
- 帖子: 93091
- 在线: 7694.3小时
- 虫号: 1482829
- 注册: 2011-11-08
- 性别: GG
- 专业: 功能陶瓷
2楼2013-12-03 19:44:07
逢寅
木虫 (正式写手)
- 应助: 1 (幼儿园)
- 金币: 1841.8
- 散金: 197
- 红花: 6
- 帖子: 454
- 在线: 105.6小时
- 虫号: 1235179
- 注册: 2011-03-16
- 性别: MM
- 专业: 金属材料表面科学与工程

3楼2013-12-04 08:56:10













回复此楼