版块导航
正在加载中...
客户端APP下载
论文辅导
调剂小程序
登录
注册
帖子
帖子
用户
本版
应《网络安全法》要求,自2017年10月1日起,未进行实名认证将不得使用互联网跟帖服务。为保障您的帐号能够正常使用,请尽快对帐号进行手机号验证,感谢您的理解与支持!
24小时热门版块排行榜
>
论坛更新日志
(3288)
>
虫友互识
(770)
>
休闲灌水
(115)
>
导师招生
(114)
>
博后之家
(95)
>
基金申请
(94)
>
论文投稿
(89)
>
文献求助
(86)
>
教师之家
(48)
>
硕博家园
(44)
>
考博
(27)
>
药学
(26)
>
招聘信息布告栏
(15)
>
考研
(12)
>
海外博后
(11)
>
医学
(11)
小木虫论坛-学术科研互动平台
»
材料区
»
晶体
»
晶体应用
»
【求助】求助磁性数据画图,急!
3
1/1
返回列表
查看: 1034 | 回复: 2
只看楼主
@他人
存档
新回复提醒
(忽略)
收藏
在APP中查看
lilacdan
铁杆木虫
(正式写手)
应助: 129
(高中生)
金币: 6808.9
帖子: 965
在线: 361.6小时
虫号: 594143
[交流]
【求助】求助磁性数据画图,急!
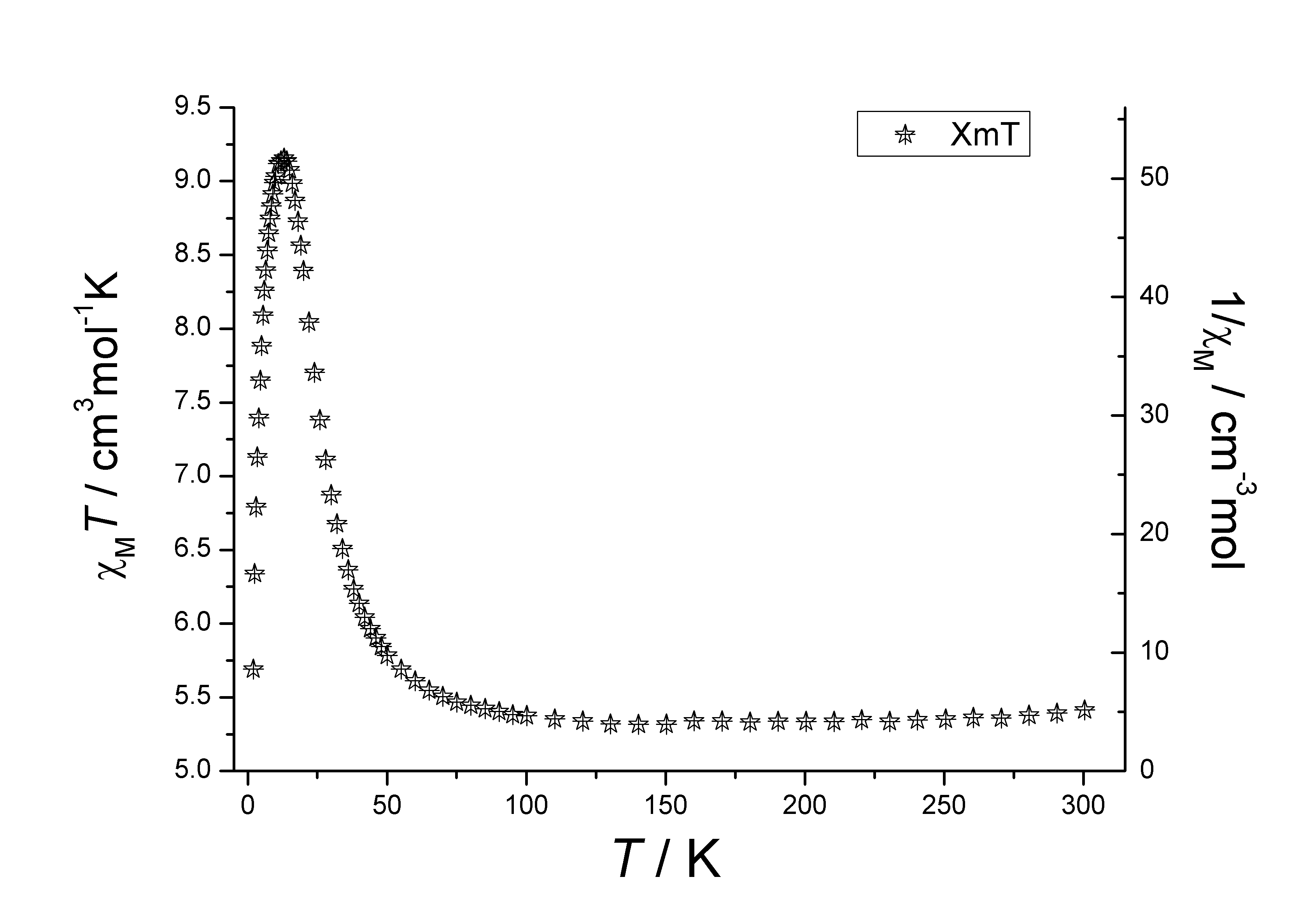
请求帮助,我想将XmT-T和 1/Xm-T画在同一张图里面,怎样在origin 8.0中画出呢?
例如就想画出下面的图形:
但是我已经画出第一条,是用左边的Y坐标,不知道怎样将第二条数据导入,使用右边的Y左边,请求帮助!!!
回复此楼
» 猜你喜欢
中南大学易小艺课题组诚招2026申请-考核制博士生
已经有0人回复
海南师范大学招收化学博士(光电功能材料课题组招收博士研究生)
已经有11人回复
无机化学论文润色/翻译怎么收费?
已经有109人回复
求助几个团簇的cif
已经有0人回复
急求该反应的详细机理
已经有5人回复
【Ei | Scopus 双检索】2026年智能交通与未来出行国际会议(CSTFM 2026)
已经有0人回复
【EI|Scopus 双检索】2026年第六届机器人与人工智能国际会议(JCRAI 2026)
已经有0人回复
zotero的advanced material模板没有更新,有人有新版的cls文件吗
已经有2人回复
【高校联合举办】2026年第五届服务机器人国际会议(ICoSR 2026)
已经有0人回复
高级回复
» 本主题相关价值贴推荐,对您同样有帮助:
求帮忙画一晶体结构
已经有5人回复
求助XRD标准图谱,能用ORIGIN画图的原始数据。
已经有4人回复
求助大神画晶体的热椭球图,急!
已经有10人回复
急求晶体软件 diamand .
已经有4人回复
.dat格式的怎么转换成origin可以作图的格式(如txt等)啊??请高手帮忙
已经有11人回复
核磁做出来的数据怎么导入ORIGIN作图呢
已经有12人回复
大神 请问如图的2个图怎么画啊 下面的2个图 谢谢
已经有3人回复
磁性高手请进Hyster,FC-ZFC,M-t,Ac全套测试数据,有一点不明,求解
已经有9人回复
利用origin画图时时数据x轴坐标不同怎么办
已经有8人回复
测完配合物的荧光 红外,XRD ,TGA,有数据,怎么画图
已经有7人回复
求用origin8做磁滞回线图的详细步骤,急,急,急。
已经有10人回复
如何用实验数据画图。。所得数据是为区域值如0.255-0.315,而不是单点
已经有4人回复
磁回滞线比较特别,在坐标轴原点附近变窄,这属于什么情况?
已经有11人回复
DSC热分析数据,用什么软件画图较好
已经有7人回复
只有一列的数据,怎么用origin作图?
已经有4人回复
origin 画图 坐标轴上数据更改
已经有4人回复
【求助】请问maple的计算数据可以导出来吗,我想用别的画图软件处理
已经有6人回复
【交流】大家关于实验室数据的处理,及画图分析 都用些什么软件
已经有22人回复
【求助】MATLAB多个mat中 数据画图问题
已经有7人回复
【求助】电磁波TM与TE模作图?
已经有7人回复
Jade中数据导出后如何画图?
已经有2人回复
» 抢金币啦!回帖就可以得到:
查看全部散金贴
山东征女友,坐标济南
+
1
/173
大连海事大学轮机学院博士名额1个
+
1
/171
一个陌生女人的来信
+
1
/62
国家级青年人才课题组招收2026级硕士研究生
+
1
/31
海南大学海洋技术与装备学院-科研助理招聘(可读博)膜分离水处理方向
+
1
/28
清华大学深圳国际研究生院招聘-博士后(长期有效)
+
1
/28
代朋友发 88公务员诚征男友
+
1
/21
2026年天津科技大学“新能源催化与膜材料团队”研究生招生
+
1
/18
太原理工大学集成电路学院招收2026年博士研究生
+
1
/14
上海交通大学-宁波东方理工大学联合培养博士生
+
1
/10
上海交通大学-宁波东方理工大学联合培养博士生 – 力学
+
1
/10
湖南大学-分析检测技术和生物柔性传感器-招收1名博士研究生 (2026年,第二批)
+
1
/7
全奖博士 英国利物浦大学+台湾清华大学 双博士学位
+
1
/6
墨尔本大学(QS13)急招CSC博士(补齐全奖)/访问学者/博士后 (材料/生物医学/器官芯片等)
+
1
/4
怎么发布了求助贴了, 一发就转到删除栏了
+
1
/4
德国图宾根大学诚招全奖岗位制博士(地下流固化学反应耦合数值模拟方向)
+
1
/2
墨尔本大学(QS13)急招CSC博士(补齐全奖)/访问学者/博士后(生物医学材料/器官芯片)
+
1
/1
中国地质大学(武汉)杨华明课题组刘磊研究员招收冶金固废资源高值化利用方向博士
+
1
/1
西电科大招博士和科研助理: 结构生物学/纳米孔/分子动力学
+
1
/1
【科研助理招聘-北京理工大学-集成电路与电子学院-国家杰青团队】
+
1
/1
1楼
2011-03-04 08:46:05
已阅
回复此楼
关注TA
给TA发消息
送TA红花
TA的回帖
wry3300
版主
(文学泰斗)
应助: 38
(小学生)
贵宾: 6.084
金币: 25781
帖子: 71243
在线: 3271.3小时
虫号: 968570
额 不懂的帮顶~~祝好运
赞
一下
回复此楼
2楼
2011-03-04 09:09:15
已阅
回复此楼
关注TA
给TA发消息
送TA红花
TA的回帖
zbdfwq5777
木虫之王
(文学泰斗)
CMEI: 3
应助: 820
(博后)
贵宾: 0.902
金币: 166542
帖子: 126445
在线: 7408.7小时
虫号: 664055
lilacdan(金币+3): 谢谢! 2011-03-04 10:26:07
找到图形左上角的图层序号2,右键选择Layer Contents,在出来的对话框中点击左面的相应数据,按下中间的右向箭头,把数据导入到右面,再点击OK就行了。
赞
一下
回复此楼
3楼
2011-03-04 09:38:20
已阅
回复此楼
关注TA
给TA发消息
送TA红花
TA的回帖
相关版块跳转
材料综合
材料工程
微米和纳米
晶体
金属
无机非金属
生物材料
功能材料
复合材料
我要订阅楼主
lilacdan
的主题更新
3
1/1
返回列表
如果回帖内容含有宣传信息,请如实选中。否则帐号将被全论坛禁言
普通表情
龙
兔
虎
猫
高级回复
(可上传附件)
百度网盘
|
360云盘
|
千易网盘
|
华为网盘
在新窗口页面中打开自己喜欢的网盘网站,将文件上传后,然后将下载链接复制到帖子内容中就可以了。
信息提示
关闭
请填处理意见
关闭
确定