24小时热门版块排行榜    

北京石油化工学院2026年研究生招生接收调剂公告
查看: 607  |  回复: 1

zhen2

银虫 (小有名气)

[求助] 求助德语一小段翻译,谢谢

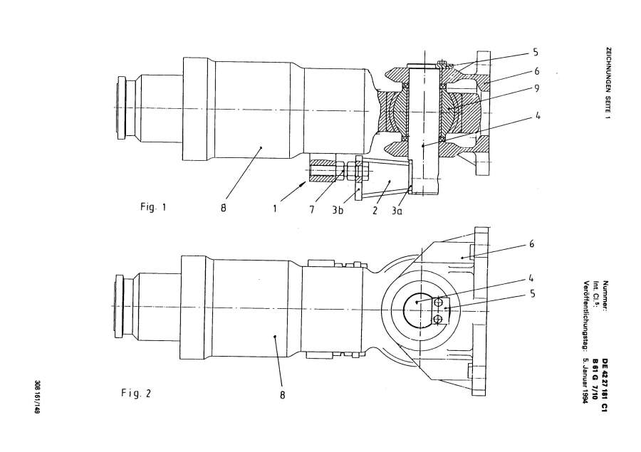
1. Abstütz- und Mittenstelleinrichtung mit Elastomerelement, das zwischen zwei parallelen Platten angeordnet und mit diesen verbunden ist, zum ellastischen Abstützen und Rückstelen einer Kuppelstange einer Mittelpufferkupplung für spurgeführte Landfahrzeug,wobei die Kuppelstange fahrzeugseitig um eine vertikale Achse horizontal und um eine horizontale Achse vertikal begrenzt schwenkbar befestigt ist, dadurch gekennzeichnet, daß das Elastomerelement (2) in Richtung der Kuppelachse und in der senkrechten Kuppelebene ausgerichtet bzw angeordnet ist, womit die das Elastomerelement (2) an beiden Stirnseiten einfassenden Platten (3a, 3b) vertikal ausgerichtet sind,das die erste Platte (3a) drehfest an einem in der vertikalen Schwenkachse der Kuppelstange(8) angeordneten Bolzen (4) befestigt ist,wobei der Bolzen (4 )seinersets mittels einer Drehsicherung (5)drehfest mit einem fahrzeugfesten Lagerbock (6) verbunden ist und daß die näher zum Kuppelkopf angeordnete zweite Platte (3b) mit einer lösbaren Befestigung (7) mit der Kuppelstange(8) verbunden ist.

求助德语一小段翻译,谢谢
证据1 DE_4227181_C1_页面_5.jpg

» 猜你喜欢

一直都感觉自己的运气不错
已阅   关注TA 给TA发消息 送TA红花 TA的回帖

zhen2

银虫 (小有名气)

一直都感觉自己的运气不错
2楼2017-08-11 15:43:47
已阅   关注TA 给TA发消息 送TA红花 TA的回帖
相关版块跳转 我要订阅楼主 zhen2 的主题更新
最具人气热帖推荐 [查看全部] 作者 回/看 最后发表
[考研] 081700学硕,323分,一志愿中国海洋大学求调剂学校 +8 披星河 2026-04-04 8/400 2026-04-04 17:47 by 无际的草原
[考研] 081700化学工程与技术 一志愿中海洋 323 求调剂学校 +15 披星河 2026-04-03 15/750 2026-04-04 16:25 by dongzh2009
[考研] 考研生物学考A区211,初试322,科目生化和生物综合,求调剂 +4 。。。54 2026-04-03 4/200 2026-04-04 16:09 by dongzh2009
[考研] 复试调剂 +6 范根培 2026-04-04 6/300 2026-04-04 14:27 by 土木硕士招生
[考研] 材料调剂 +17 一样YWY 2026-04-02 18/900 2026-04-04 11:14 by 猪会飞
[考研] 材料调剂 +11 吴棂颖! 2026-04-03 11/550 2026-04-04 09:56 by 小小树2024
[考研] 311求调剂 +20 zchqwer 2026-04-01 22/1100 2026-04-03 22:09 by lglzsd
[考研] 调剂 +8 JLLLLLLLLLL 2026-04-03 8/400 2026-04-03 22:06 by 无际的草原
[考研] 324求调剂 +4 想上学求调 2026-04-03 4/200 2026-04-03 14:41 by rongligao
[考研] 机械专硕297 +3 Afksy 2026-04-03 3/150 2026-04-03 14:24 by 1753564080
[考研] 277求调剂 +3 12A3 2026-04-02 3/150 2026-04-02 21:30 by swb0218
[考研] 318求调剂 +3 笃行致远. 2026-03-31 4/200 2026-04-02 15:56 by Jaylen.
[考研] 266分,一志愿电气工程,本科材料,求材料专业调剂 +10 哇呼哼呼哼 2026-04-01 11/550 2026-04-02 11:31 by lnilvy
[考研] 求调剂,一志愿南京师范大学计算机专硕,初试373,六级通过, +3 计算机追梦人 2026-04-01 3/150 2026-04-02 07:57 by fxue1114
[考研] 265求调剂 +11 yelck 2026-04-01 12/600 2026-04-01 19:12 by 549790059
[考研] 材料专业调剂 +5 啦啦啦哭 2026-03-31 6/300 2026-04-01 16:48 by JourneyLucky
[考研] 求调剂 +4 图鉴212 2026-03-30 5/250 2026-04-01 15:32 by 图鉴212
[考研] 调剂 +4 GK72 2026-03-30 4/200 2026-03-30 20:32 by dick_runner
[考研] 一志愿华中师范化学332分求调剂 +3 Lyy930824@ 2026-03-29 3/150 2026-03-30 20:15 by DHUSHUAI
[考研] 356求调剂 +3 gysy?s?a 2026-03-28 3/150 2026-03-29 00:33 by 544594351
信息提示
请填处理意见