| 查看: 1626 | 回复: 8 | ||
wangmeng0124新虫 (小有名气)
|
[交流]
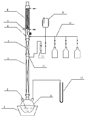
萃取精馏装置图用什么软件画 已有5人参与
|
| CAD |
2楼2015-12-24 17:41:53
wasdwdsa455
金虫 (正式写手)
- 应助: 237 (大学生)
- 金币: 1265.8
- 红花: 6
- 帖子: 427
- 在线: 61.6小时
- 虫号: 4293899
- 注册: 2015-12-17
- 性别: GG
- 专业: 有机合成
3楼2015-12-25 13:10:09
★ ★ ★
小木虫: 金币+0.5, 给个红包,谢谢回帖
wangmeng0124(明亮的眼眸代发): 金币+2, 感谢交流~~~欢迎常来工艺技术版~O(∩_∩)O 2015-12-26 22:57:34
小木虫: 金币+0.5, 给个红包,谢谢回帖
wangmeng0124(明亮的眼眸代发): 金币+2, 感谢交流~~~欢迎常来工艺技术版~O(∩_∩)O 2015-12-26 22:57:34
|
本帖内容被屏蔽 |
4楼2015-12-26 14:42:37
|
cad 发自小木虫IOS客户端 |
5楼2015-12-27 09:12:21
huangdong712
禁虫 (文坛精英)
|
本帖内容被屏蔽 |
6楼2015-12-27 10:30:25
lucky_lj
银虫 (小有名气)
- 应助: 5 (幼儿园)
- 金币: 197.6
- 散金: 38
- 帖子: 126
- 在线: 55.8小时
- 虫号: 1261037
- 注册: 2011-04-10
- 性别: GG
- 专业: 分离过程

7楼2015-12-29 17:15:06
beijing129
新虫 (正式写手)
- 应助: 18 (小学生)
- 金币: 564.4
- 散金: 156
- 红花: 3
- 帖子: 436
- 在线: 169.9小时
- 虫号: 1975632
- 注册: 2012-09-05
- 性别: MM
- 专业: 环境污染化学
★ ★
小木虫: 金币+0.5, 给个红包,谢谢回帖
明亮的眼眸: 金币+1, 感谢交流~~~欢迎常来工艺技术版~O(∩_∩)O 2015-12-29 23:18:37
小木虫: 金币+0.5, 给个红包,谢谢回帖
明亮的眼眸: 金币+1, 感谢交流~~~欢迎常来工艺技术版~O(∩_∩)O 2015-12-29 23:18:37
|
Viso简单一些,也可以画 发自小木虫Android客户端 |

8楼2015-12-29 17:35:13
9楼2015-12-29 17:42:03













回复此楼
