| 查看: 429 | 回复: 1 | ||
坏坏爱dmq新虫 (初入文坛)
|
[求助]
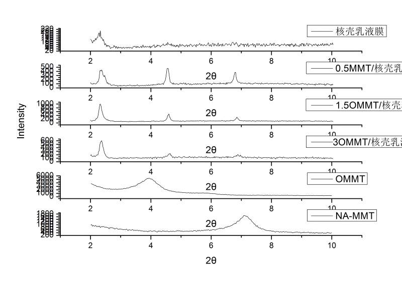
求助!有机蒙脱土/丙烯酸酯核壳乳液膜的XRD图分析,很奇怪的!
|
|
请大家帮忙解释一下,加了蒙脱土的核壳乳液在2度左右是个什么峰,另外为什么进行插层聚合后,在4-7度会出现如图的两个峰(假如它们是蒙脱土的插层峰,与我加入的有机蒙脱土相比,反应后蒙脱土的层间距反而减小了,这是为什么?)谢谢大家! Graph2.jpg |
» 猜你喜欢
投稿Elsevier的Neoplasia杂志,到最后选publishing options时页面空白,不能完成投稿
已经有18人回复
垃圾破二本职称评审标准
已经有12人回复
职称评审没过,求安慰
已经有17人回复
EST投稿状态问题
已经有7人回复
谈谈两天一夜的“延安行”
已经有15人回复
毕业后当辅导员了,天天各种学生超烦
已经有4人回复
聘U V热熔胶研究人员
已经有10人回复
求助文献
已经有3人回复
投稿返修后收到这样的回复,还有希望吗
已经有8人回复
三无产品还有机会吗
已经有6人回复
坏坏爱dmq
新虫 (初入文坛)
- 应助: 0 (幼儿园)
- 金币: 130.5
- 帖子: 16
- 在线: 23.2小时
- 虫号: 3288560
- 注册: 2014-06-23
- 性别: MM
- 专业: 有机高分子功能材料
2楼2015-10-14 16:19:16













回复此楼