| 查看: 3141 | 回复: 1 | |
[求助]
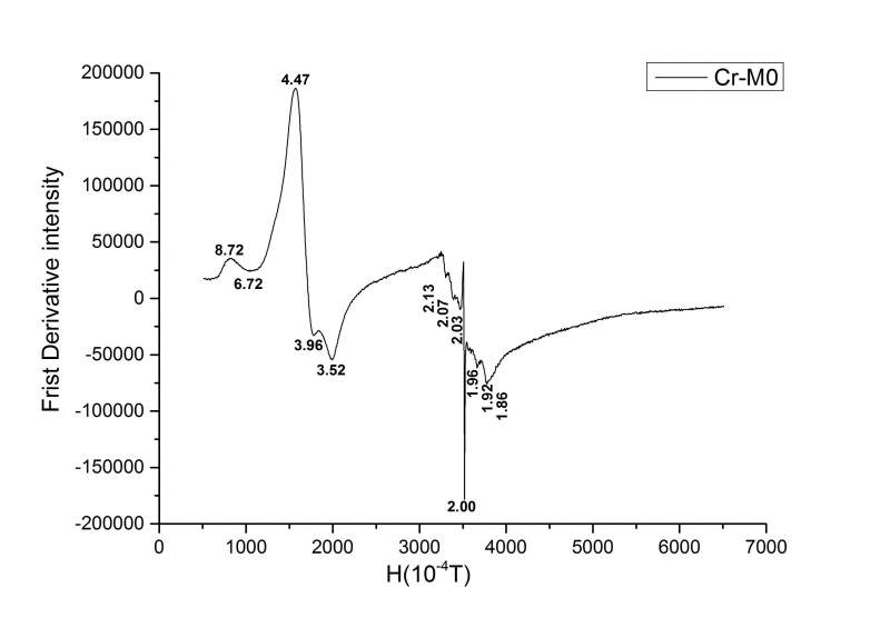
ESR图 已有1人参与
|
|
|
|
|
StuartZQ金虫 (小有名气)
失眠小能手
|
|
![]() |
|
|
2楼2015-10-13 18:54:25
|
|














回复此楼
