24小时热门版块排行榜    

北京石油化工学院2026年研究生招生接收调剂公告
查看: 227  |  回复: 0

a312061767

新虫 (初入文坛)

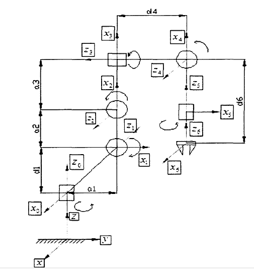
[求助] 6R机器臂逆解位置

我看过相关期刊,但里面只讲理论,但是实际编写代码困难重重。各位大神有相关代码吗?想用解析的方法,一次性得到所有关节解。求助!!!非常急呀,硕士毕设有用到!

6R机器臂逆解位置
1.png
回复此楼
已阅   回复此楼   关注TA 给TA发消息 送TA红花 TA的回帖
相关版块跳转 我要订阅楼主 a312061767 的主题更新
最具人气热帖推荐 [查看全部] 作者 回/看 最后发表
[考研] 344材料与化工调剂 +9 调剂上岸玘 2026-04-03 9/450 2026-04-04 23:10 by happyddm
[考研] 085602调剂 初试总分335 +9 19123253302 2026-04-04 9/450 2026-04-04 22:17 by 啵啵啵0119
[考研] 求调剂 一志愿西南交通大学085701环境工程 282分 +5 多多爱吃汉堡 2026-04-04 5/250 2026-04-04 22:14 by 啵啵啵0119
[考研] 求调剂 +3 ffyyu 2026-04-02 3/150 2026-04-04 19:03 by 蓝云思雨
[考研] 本科211,293分请求调剂 +6 莲菜就是藕吧 2026-04-03 7/350 2026-04-04 11:12 by 莲菜就是藕吧
[考研] 一志愿南昌大学324求调剂 +9 hanamiko 2026-03-30 9/450 2026-04-04 11:04 by 猪会飞
[考研] 26调剂 086003 +6 失活的细胞 2026-04-04 6/300 2026-04-04 09:50 by zhangdingwa
[考研] 一志愿南昌大学324求调剂 +13 hanamiko 2026-04-01 13/650 2026-04-03 18:30 by ls刘帅
[考研] 学硕机械工程303求调剂 +6 无名所以叫吴明 2026-03-30 7/350 2026-04-03 16:48 by asdfzly
[考研] 复试调剂 +3 bvzz 2026-04-01 3/150 2026-04-03 09:47 by 蓝云思雨
[考研] 求调剂!生物与医药专硕 +4 逆转陆先生 2026-04-01 5/250 2026-04-03 08:33 by Jaylen.
[考研] 一志愿华南师范大学-22408计算机-292分-求华南师范大学调剂 +4 爱读书的小鳄鱼 2026-04-02 4/200 2026-04-02 18:35 by 求调剂zz
[考研] 调剂 +3 好好读书。 2026-04-01 6/300 2026-04-02 15:49 by liumengping
[考研] 348环境工程调剂 +3 吴彦祖24k 2026-04-01 3/150 2026-04-02 09:14 by nanaliuyun
[考研] 307分求调剂 +14 (o~o) 2026-03-31 15/750 2026-04-01 20:43 by longlotian
[考研] 材料与化工(0856)304求B区调剂 +8 邱gl 2026-03-30 16/800 2026-04-01 17:58 by 邱gl
[考研] 材料专业调剂 +5 啦啦啦哭 2026-03-31 6/300 2026-04-01 16:48 by JourneyLucky
[考研] 省双一流重点一本大学招收调剂 +4 wwwwffffff 2026-03-31 7/350 2026-04-01 15:23 by wwwwffffff
[考研] 求调剂 生物学 377分 +6 zzll03 2026-03-31 6/300 2026-03-31 17:33 by 唐沐儿
[考研] 本科211总分289,08工学真心求调剂 +3 utopiaE 2026-03-30 3/150 2026-03-30 23:42 by ms629
信息提示
请填处理意见