| 查看: 1026 | 回复: 0 | ||
[交流]
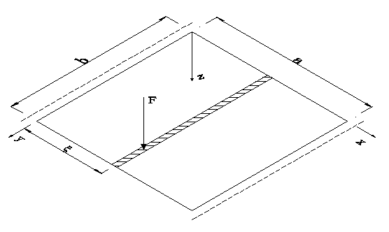
薄板变形公式推导求助
|

找到一些相关的精华帖子,希望有用哦~
铝合金板材时效前进行预变形,是否有可能在表面出现微裂纹?
已经有6人回复
薄板厚度对于显微硬度的测量有影响吗?
已经有15人回复
转动惯量与惯性矩的区别(或者说J与I的区别)交流
已经有6人回复
不锈钢板选择!要耐热抵抗变形!
已经有5人回复
薄板激光焊接焊后变形如何矫正
已经有7人回复
请教:埋弧焊钢板焊接变形问题
已经有7人回复
【求助】根据化学成分计算变形抗力的数学公式
已经有7人回复
【求助】牛人们,帮帮我,回答几道小问题!!!请快点!!
已经有5人回复
科研从小木虫开始,人人为我,我为人人














回复此楼

点击这里搜索更多相关资源