| 查看: 472 | 回复: 3 | |||
husong12030铁虫 (初入文坛)
|
[求助]
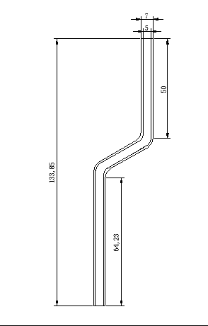
哪里可以生产弯曲的刚玉管? 已有2人参与
|
||
|
|
|||
橡胶人荣誉版主 (文坛精英)
|
|||
|
2楼2014-01-16 09:39:04
|
|
||
husong12030铁虫 (初入文坛)
|
|||
|
3楼2014-01-18 11:10:07
|
|
||
1311040115新虫 (初入文坛)
|
|||
|
4楼2018-05-24 08:23:20
|
|













回复此楼