| 查看: 322 | 回复: 2 | |||
[交流]
气动扳手或风扳手!! 已有2人参与
|
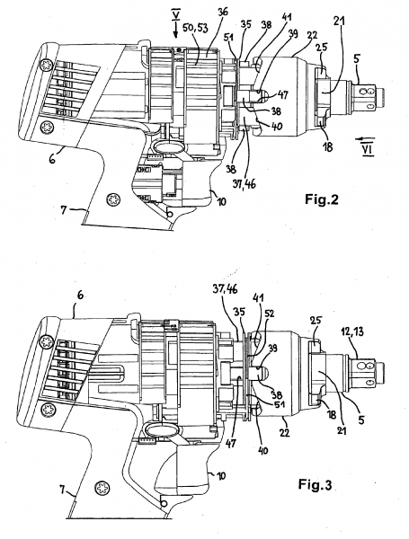
| 有了解气动扳手或者风扳手的吗,能否给一些详细的内部结构资料。网上搜的都太模糊,看不清楚。谢谢 |
» 猜你喜欢
337一志愿华南理工材料求调剂
已经有1人回复
深圳锂优细讲:锂电叠片机工艺与选型
已经有0人回复
金属材料论文润色/翻译怎么收费?
已经有153人回复
特殊环境先进金属材料山西省重点实验室接收硕士研究生调剂信息
已经有0人回复
锂优深度解析:电池封口机如何全方位保障电池密封性能
已经有0人回复
材料366,求211调剂
已经有2人回复
特殊环境先进金属材料山西省重点实验室接收硕士研究生调剂信息
已经有0人回复
求调剂推荐 材料 304
已经有21人回复
Bi离子和稀土离子共掺杂 随稀土掺杂增加,稀土发射峰增强,这样是能量传递了吗?
已经有0人回复
296材料专硕求调剂
已经有22人回复
锂优电池测试仪如何实现电池性能检测的精准性与可靠性
已经有0人回复
» 本主题相关价值贴推荐,对您同样有帮助:
那个大哥能不能告诉我,做扳手一般用什么刚
已经有8人回复
mocean
木虫 (小有名气)
- 应助: 9 (幼儿园)
- 金币: 2507.3
- 帖子: 129
- 在线: 93.7小时
- 虫号: 2364857
- 注册: 2013-03-21
- 性别: GG
- 专业: 石油天然气开采
★
小木虫: 金币+0.5, 给个红包,谢谢回帖
小木虫: 金币+0.5, 给个红包,谢谢回帖

2楼2013-07-26 08:38:05
3楼2013-09-14 21:32:57














回复此楼