| 查看: 1248 | 回复: 1 | ||
| 【悬赏金币】回答本帖问题,作者猫学长将赠送您 100 个金币 | ||
猫学长实习版主
|
[求助]
请问一下压电陶瓷材极化和变形的问题
|
|
|
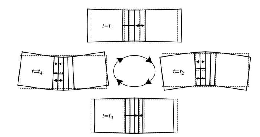
极化方式和施加电压波形,如图1和图3所示(上传延迟)。t2的时候,b相是负电压,t4的时候,b相是正电压。问题来了: q1.分别对陶瓷片的膨胀与收缩有什么影响? 在图2里, q2.既然是负电压,为什么t2不都是收缩,而是半收缩,半膨胀? q3.既然是正电压,为什么t4不都是膨胀,而是半收缩,半膨胀? 感谢各位,谢谢!! 发自小木虫Android客户端 |
» 猜你喜欢
一志愿同济大学323分(080500)求调剂
已经有3人回复
330分求调剂
已经有7人回复
336求调剂
已经有3人回复
285求调剂
已经有5人回复
调剂推荐
已经有9人回复
材料调剂
已经有6人回复
材料专硕322分
已经有3人回复
321求调剂
已经有5人回复
301求调剂
已经有6人回复
085600,321分求调剂
已经有13人回复
猫学长
专家顾问
![]()
![]()
![]()
![]()
- 应助: 3 (幼儿园)
- 金币: 771.5
- 散金: 1764
- 红花: 3
- 帖子: 1042
- 在线: 160.7小时
- 虫号: 3940686
- 注册: 2015-06-25
- 性别: GG
- 专业: 微/纳机械系统
2楼2020-12-06 21:36:54














回复此楼
10