| 查看: 466 | 回复: 0 | ||
[求助]
关于反应等离子体蚀刻(RIE),求助专业人士解答~
|
|
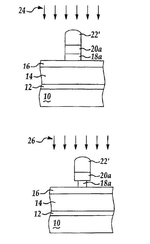
RIE是高度各向异性蚀刻,当垂直于wafer表面蚀刻时,可以蚀刻出笔直的坑,那么 那么请问RIE能对平行于wafer的方向进行横向的蚀刻吗,也就是当进行完垂直方向的时刻后, 再对蚀刻后的图案进行蚀刻使之变细?感谢! 1_副本.jpg |
» 猜你喜欢
天津大学招2026.09的博士生,欢迎大家推荐交流(博导是本人)
已经有11人回复
表哥与省会女结婚,父母去帮带孩子被省会女气回家生重病了
已经有9人回复
AI 太可怕了,写基金时,提出想法,直接生成的文字比自己想得深远,还有科学性
已经有10人回复
同年申请2项不同项目,第1个项目里不写第2个项目的信息,可以吗
已经有10人回复
依托企业入选了国家启明计划青年人才。有无高校可以引进的。
已经有11人回复
依托企业入选了国家启明计划青年人才。有无高校可以引进的。
已经有11人回复













回复此楼