| 查看: 2523 | 回复: 12 | |||
zhouwensmile铁杆木虫 (著名写手)
|
[求助]
Fluent模拟差压流量计计量过程,压降偏小 已有2人参与
|
|
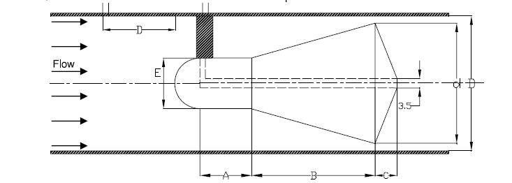
V锥流量计示意图: 在一篇国外文献,找到V锥流量计详细建模参数和fluent相关设置,想重现一下过程 1. 用solidworks建模(管径52.1mm,总长938mm左右) 2. icem划分网格,采用非结构网格划分划分方式,设置管壁边界层(仅仅只是设置了,合理性未知),网格数61万 3. fluent设置 模型:选择湍流模型 k-epsilon RNG 标准壁面函数(所有论文都是采取RNG) 介质:液态水 边界条件:速度入口,1.77m/s;压力出口,0Pa,设置操作压力为0Pa;其余都是wall,而V锥流量计壁面为光滑壁面,而管壁粗糙度高度为1e-06,粗糙度为0.5(这样设置完全参考了外文文献,因为我想用我的模拟结果与其相比较) 解法:SIMPLEC,二阶迎风 4. 结果 监测点设置如图所示,监测物理量为压力 但是两个监测点的压差小于国外文献的压差,(本人模拟为9400Pa,而文献中大约在14000Pa) 4.1 V锥周围的压力云图 附件为:solidworks模型和icem模型@wuming524 |
» 本帖附件资源列表
-
欢迎监督和反馈:小木虫仅提供交流平台,不对该内容负责。
本内容由用户自主发布,如果其内容涉及到知识产权问题,其责任在于用户本人,如对版权有异议,请联系邮箱:xiaomuchong@tal.com - 附件 1 : beta64_5D.tin
- 附件 2 : beta64_5D.x_t
2016-04-19 14:12:42, 35.79 K
2016-04-19 14:13:02, 8.14 K
» 收录本帖的淘帖专辑推荐
fluent流动模拟 |
» 猜你喜欢
321求调剂
已经有5人回复
一志愿中海洋材料工程专硕330分求调剂
已经有7人回复
一志愿天大材料与化工(085600)总分338
已经有5人回复
288求调剂
已经有3人回复
材料080500调剂求收留
已经有4人回复
一志愿吉林大学材料学硕321求调剂
已经有9人回复
294求调剂材料与化工专硕
已经有8人回复
一志愿985,本科211,0817化学工程与技术319求调剂
已经有10人回复
一志愿西安交通大学材料工程专业 282分求调剂
已经有3人回复
332求调剂
已经有3人回复

qc12345
至尊木虫 (职业作家)
- 应助: 146 (高中生)
- 金币: 13666.3
- 红花: 26
- 帖子: 3294
- 在线: 699.2小时
- 虫号: 3071487
- 注册: 2014-03-19
- 专业: 园艺学与植物营养学

2楼2016-04-19 18:01:42
zhouwensmile
铁杆木虫 (著名写手)
- 应助: 8 (幼儿园)
- 贵宾: 0.173
- 金币: 7502.3
- 散金: 2508
- 红花: 53
- 沙发: 2
- 帖子: 2598
- 在线: 759.3小时
- 虫号: 1666187
- 注册: 2012-03-05
- 性别: GG
- 专业: 化石能源储存与输送

3楼2016-04-19 18:48:18
![]() ![]() ![]() ![]() ![]() ![]() |
4楼2016-04-19 19:36:56
zhouwensmile
铁杆木虫 (著名写手)
- 应助: 8 (幼儿园)
- 贵宾: 0.173
- 金币: 7502.3
- 散金: 2508
- 红花: 53
- 沙发: 2
- 帖子: 2598
- 在线: 759.3小时
- 虫号: 1666187
- 注册: 2012-03-05
- 性别: GG
- 专业: 化石能源储存与输送

5楼2016-04-19 21:02:33
6楼2016-04-20 11:38:10
zhouwensmile
铁杆木虫 (著名写手)
- 应助: 8 (幼儿园)
- 贵宾: 0.173
- 金币: 7502.3
- 散金: 2508
- 红花: 53
- 沙发: 2
- 帖子: 2598
- 在线: 759.3小时
- 虫号: 1666187
- 注册: 2012-03-05
- 性别: GG
- 专业: 化石能源储存与输送
|
已经上传, ![]() singh2010,最详细,但是有明显建模错误,模型beta=0.64,D=52.1mm,而d=40mm才对 这一点在singh2009中可以得到证明 我的模型按照beta=0.64,D=52.1mm,d=40mm建立 |
» 本帖附件资源列表
-
欢迎监督和反馈:小木虫仅提供交流平台,不对该内容负责。
本内容由用户自主发布,如果其内容涉及到知识产权问题,其责任在于用户本人,如对版权有异议,请联系邮箱:xiaomuchong@tal.com - 附件 1 : Singh_等._-_2009_-_Study_on_the_effect_of_vertex_angle_and_upstream_s.pdf
- 附件 2 : Singh_等._-_2010_-_CFD_prediction_of_the_effects_of_the_upstream_elbo.pdf
2016-04-20 13:06:44, 858.4 K
2016-04-20 13:06:54, 1.88 M

7楼2016-04-20 13:09:43
8楼2016-04-21 22:58:20
|
应该不是湍流模型的问题,是你网格有问题。把第一层网格调小,尝试一下Enhanced wall treatment 发自小木虫IOS客户端 |
» 本帖已获得的红花(最新10朵)
9楼2016-04-26 20:15:43
zhouwensmile
铁杆木虫 (著名写手)
- 应助: 8 (幼儿园)
- 贵宾: 0.173
- 金币: 7502.3
- 散金: 2508
- 红花: 53
- 沙发: 2
- 帖子: 2598
- 在线: 759.3小时
- 虫号: 1666187
- 注册: 2012-03-05
- 性别: GG
- 专业: 化石能源储存与输送

10楼2016-04-26 22:17:26













回复此楼


zhouwensmile
。)